The rotary kiln at the Kirchdorf cement plant was shut down for 63 days until 11 March 2024. During this time, the employees spent 31000 working hours breaking out and installing 190 t of refractory material.
On the occasion of bauma 2025, the leading associations of the German construction and construction equipment industry will present the bauma Innovation Award for the fourteenth time together with Messe München.
Humboldt Wedag India Pvt., Ltd. (HWI India) announces its partnership with Kima Process Control, the global pioneer in smart instrumentation and process optimization for cement production.
Schwenk Zement GmbH & Co. KG has commissioned thyssenkrupp Polysius to build a demonstration plant for the production of activated clay without calcination.
Cemex has developed an innovative approach designed to decrease CO2 emissions in cement production by reducing the size of clinker particles. This process called micronization.
neustark, a Switzerland-based carbon removal developer, has entered a multi-year offtake agreement to provide NextGen CDR (NextGen) with high-quality, durable carbon dioxide removal (CDR).
The Portland Cement Association (PCA), representing America’s cement manufacturers, commends the Connecticut Department of Transportation’s approval of portland-limestone cement (PLC) in its project.
On 12 April 2024 a globally unique pilot plant for the production of low-CO2 cement additives was inaugurated at the Institute for Applied Construction Research (IAB) in Weimar.
Christoph Kowitz, currently head of WACKER’s Corporate Research Department, takes charge of the Group’s U.S. subsidiary Wacker Chemical Corporation (WCC) at the beginning of May.
Blast furnace slag has been used as an aggregate in concrete for around 100 years. They replace natural rock and contribute to resource conservation and the circular economy as well as securing the supply of raw materials for the concrete industry.
The World Cement Association (WCA) announced it is welcoming Refratechnik Asia, a market leader in the field of refractory materials based in Hong Kong, as an Associate Corporate Member.
Greater climate friendliness is one of the most ambitious goals of the energy-intensive cement and lime industry. Aerzen's turbo technology supports the cement and lime industry on the path to climate neutrality.
Since oleochemical products are based on vegetable and animal fatty acids, they are not only used for their effectiveness but also for sustainability reasons. Common oleochemical hydrophobing agents include metal and alkaline soaps.
Whether in the cement or chemical industry, from an environmental or legal point of view, politically or socially – the major goal of CO 2 neutrality can only be achieved as a closed unit.
One of the world’s first climate-neutral cement plants is taking shape: Vice Chancellor and Federal Minister of Economics Dr Robert Habeck and Holcim Germany CEO Thorsten Hahn, broke ground on the “Carbon2Business” innovation project in Lägerdorf.
Carbon Capture & Utilisation (CCU) enables the substitution of fossil carbon in sectors where carbon is necessary. Dioxycle, D-CRBN and Twelve showcase winning solutions that pave the path for a renewable carbon society.
The capture of CO₂ and its subsequent use and storage are key elements of the cement industry‘s decarbonisation strategy. The separation of CO₂ from waste gas is an energy-intensive and complex...
This report describes systematic measurements of the velocity ratio C = uS/uF in a vertical pneumatic conveyor line. Two limestone fractions of the same base material were analysed, which had mean...
In this paper, the effects of styrene-butadiene rubber (SBR, 1%~4%) powder on the autogenous shrinkage and compressive strength of cement-based materials at 3, 7, 28, 60 and 90 d were firstly studied,...
The chips drop as if planed from wood; wherever there is grinding, there‘ll be dust. The processing of mineral materials involves many imponderables, and these must be kept as low as possible during...
(22) 26.04.2022(43) 02.11.2023(57) A cement production carbon emission accounting method, comprising the following steps: directly measuring total carbon dioxide emissions by means of an instillment;...
(22) 25.06.2023(43) 18.01.2024(57) The present invention provides a new cement clinker calcination decomposition furnace, comprising a lower volute portion, a lower furnace body, an upper furnace...
(22) 07.12.2023(43) 09.01.2024(57) The invention discloses a decomposing furnace for cement manufacturing denitration, and belongs to the technical field of cement production. Comprising a first...
(22) 16.08.2022(43) 21.02.2024(57) The present disclosure discloses a high-silicon limestone cement ingredient, comprising the following components in parts by weight: 87.99 parts of limestone, 2.99...
(22) 22.08.2023(43) 07.03.2024(57) A biological cement including algal biomatter, cement, and water. The present disclosure also provides methods of preparing the biological cement. The biological...
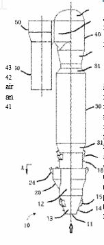
(22) 25.02.2021(43) 14.03.2024(57) A cement kiln burner includes a plurality of columnar or cylindrical flow channels. Outlets of the respective flow channels are disposed on substantially the same...
(22) 28.08.2023(43) 29.02.2024(57) An apparatus for production of burnt lime or dolomite has: a shaft furnace having a preheating zone, a reaction zone, a separation zone and a cooling zone;a first...
(22) 09.12.2019(43) 17.06.2021(57) To provide a cement admixture excellent in slump retention and workability. SOLUTION: A cement admixture of this invention includes a copolymer A including a...
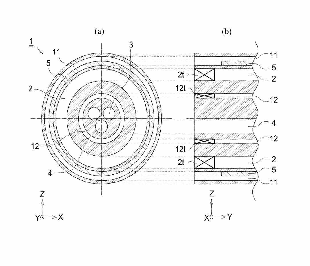
(22) 22.08.2023(43) 07.03.2024 (57) The present invention relates to a system for producing cement clinker, the system having a raw-material supply (10), a mill (50), a pre-heater (60), a calciner...
(22) 01.09.2023(43) 07.03.2024(57) The invention relates to a device and a method for high-temperature applications in metallurgy, in the chemical industry and in the cement industry. A description is...
(22) 02.09.2023(43) 07.03.2024(57) The invention relates to a method for incineration of combustible waste during the manufacture of cement clinker. The waste is incinerated in a separate compartment,...
(22) 17.08.2023(43) 14.03.2024(57) The present invention relates to a novel chromium reducing agent used in a cement. In particular, present invention provides a chromium reducing agent composition, a...
(22) 05.05.2022(43) 13.03.2024(57) Low viscosity milk of lime comprising fine lime particles in suspension in an aqueous phase containing at least a first polymer dispersant and a seconddispersant...
(22) 10.07.2023(43) 29.02.2024(57) The present invention relates to the field of cement production industrial technology, and specifically relates to a carbon capture auxiliary system for a cement...
Martin Engineering designed the highly responsive Martin® Tracker™ HD (heavy-duty) belt conveyor alignment system with widely available plate steel to increase availability and affordability across all 6 continents it serves.
In recent decades the lime Industry, like many other industrial sectors, has been exploring alternative solutions to high energy-consuming production processes. This shift is driven by various factors, including the desire to reduce environmental impact.