Decomposing furnace for cement manufacturing denitration
(22) 07.12.2023
(43) 09.01.2024
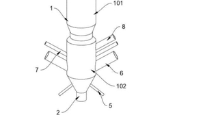
(57) The invention discloses a decomposing furnace for cement manufacturing denitration, and belongs to the technical field of cement production. Comprising a first decomposing furnace, a second decomposing furnace and a third decomposing furnace, each of the three structures comprises a furnace body, a kiln gas inlet and a flue gas outlet; a furnace body of the first decomposing furnace comprises a burnout cavity and a combustion cavity, the middle of the burnout cavity is cylindrical, the top of the burnout cavity is in a circular truncated cone shape, the...
(22) 07.12.2023
(43) 09.01.2024
(57) The invention discloses a decomposing furnace for cement manufacturing denitration, and belongs to the technical field of cement production. Comprising a first decomposing furnace, a second decomposing furnace and a third decomposing furnace, each of the three structures comprises a furnace body, a kiln gas inlet and a flue gas outlet; a furnace body of the first decomposing furnace comprises a burnout cavity and a combustion cavity, the middle of the burnout cavity is cylindrical, the top of the burnout cavity is in a circular truncated cone shape, the bottom of the burnout cavity is in an inverted circular truncated cone shape, and the bottom of the burnout cavity is connected with the combustion cavity. The middle part of a furnace body of the second decomposing furnace is cylindrical, the upper part is circular truncated coneshaped, the lower part is inverted circular truncated cone-shaped, and a kiln gas inlet of the second decomposing furnace is of a throat pipe structure; a furnace body of the third decomposing furnace comprises a cylindrical cavity, a decomposing cavity, aseparating cavity and a leading-in cavity, the cylindrical cavity is horizontally arranged in a cylindrical shape, the bottom of the cylindrical cavity is connected with the decomposing cavity and the separating cavity, and the bottom of the decomposing cavity is connected with the leading-in cavity; different shapes of the decomposing furnace can be selected according to different cement denitration requirements, and the problem that the denitration efficiency of a denitration decomposing furnace manufactured by cement is low is solved.
(71) Shanxi Zhuoyue Cement Co Ltd
