New cement clinker calcination
decomposition furnace
(22) 25.06.2023
(43) 18.01.2024
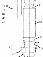
(57) The present invention provides a new cement clinker calcination decomposition furnace, comprising a lower volute portion, a lower furnace body, an upper furnace body, and an upper volute portion. The lower volute portion contains a lower volute passage and an air inlet, wherein the lower volute passage delivers gas into the lower volute portion through an outlet which tangentially communicates with a side wall of the lower volute portion; and the lower volute passage is in communication with a first inlet for materials to be calcined and a first fuel inlet,...
(22) 25.06.2023
(43) 18.01.2024
(57) The present invention provides a new cement clinker calcination decomposition furnace, comprising a lower volute portion, a lower furnace body, an upper furnace body, and an upper volute portion. The lower volute portion contains a lower volute passage and an air inlet, wherein the lower volute passage delivers gas into the lower volute portion through an outlet which tangentially communicates with a side wall of the lower volute portion; and the lower volute passage is in communication with a first inlet for materials to be calcined and a first fuel inlet, and/or the side wall of the lower volute portion is provided with a second inlet for materials to be calcined and a second fuel inlet. A contraction portion is provided at the bottom of the upper furnace body, and the contraction portion is configured such that too the diameter thereof gradually increases in a vertical upward direction; and a side face of the upper furnace body is provided with an upper side outlet that is in communication with the upper volute portion. The upper volute portion comprises an upper volute passage, wherein an inlet of the upper volute passage is configured to tangentially communicate with the upper side outlet, and the rotation direction of the upper volute passage is opposite to the rotation direction of the lower volute passage. By means of the calcination decomposition furnace of the present invention, the residence time of fuel and flue gas can be prolonged, and materials to be calcined, the fuel and the flue gas can be fully mixed.
(71) CBMI Construction Co., Ltd., Hebei 064000 (CN)
