Dear Readers, Digitalization is on everyone’s lips ... sometimes it is just a worn-out buzzword and sometimes it is the means to save the world. The truth probably lies somewhere in between. The ...
Sika has completed the acquisition of MBCC Group after having received all necessary regulatory approvals. With this highly complementary transaction, Sika strengthens its footprint across all...
Holcim launches ECOCycle®, its proprietary circular technology platform to recycle construction demolition materials into new building solutions. With ECOCycle Holcim can recycle 100% of construction...
Cemex Deutschland AG has already converted eight of its 14 ready-mix concrete plants in the Berlin-Brandenburg region to offer concrete with recycled aggregate: The Spandau, Hohenschönhausen,...
Cemex has acquired a mortar plant near Madrid/Spain as part of its ongoing strategy to increase EBITDA through bolt-on acquisitions, focusing on providing more sustainable alternatives to growing...
More than seventy start-ups from across the world have applied for a pioneering international scheme, aimed at making low carbon concrete. The Global Cement and Concrete Association (GCCA) and its...
Climate scenarios are already widely used by corporations and financial institutions to assess climate risks and set pathways to net zero. However, despite the prevalence of these scenarios, less...
Heidelberg Materials has announced the investment of € 65 million to accelerate the decarbonisation of its Bussac-Forêt cement plant in the west of France. The plant will be expanded to include a...
w&p Zement, as part of the Alpacem Group, aims to achieve climate-neutral cement production by 2035. In order to get one step closer to this ambitious goal, the company plans to completely substitute ...
After more than four years at the head of Votorantim Cimentos, Marcelo Castelli is leaving his position as global CEO to become a member of the Board of Directors. To succeed him, Votorantim Cimentos...
The contribution of steel industry by-products to resource conservation, the circular economy and climate protection remained high last year. Due to the somewhat lower steel production in Germany last...
Heidelberg Materials has announced that the company has entered into a definitive purchase agreement to acquire The Sefa Group Inc., one of the largest fly ash recycling companies in the United...
Martin Engineering has introduced a new standard in wear liner technology. The Manufactured Canoe Liner from Martin Engineering is made from durable urethane molded around a rugged steel plate to...
The disk mill Pulverisette 13 premium line grinds hard-brittle to medium-hard solids down to 0.05 mm fineness. It is especially safe due to the automatic locking of collecting vessel and grinding...
Flender has been building gear units for industrial applications for over a century. In the 1990s, the drive specialist redefined industrial gear units and set the global grey standard with the ...
The Bostik GmbH was founded over 130 years ago and is now a leading manufacturer of adhesive and sealant systems for the building trade, industry and DIY enthusiasts. At its site in...
The annual IEEE-IAS/PCA Cement Conference, held in rotating locations on the North American continent, met this year in Dallas, Texas, from April 23rd – 27th, 2023, for the fourth time in the history...
Lindner’s Komet series has been the benchmark in secondary shredding for decades. The new features of the Komet Series 3 are the answer to the industries’ challenges and optimise energy efficiency as...
Digital transformation is the integration of digital technology into all areas of a business. But what does it mean for the cement industry? And what has changed, because most of the technologies and...
Köppern has developed Koesep®, a multi-stage separator combining the advantages of both static and dynamic separators with the usage of less space, lower energy and complete eradication of material ...
thomas zement GmbH in Karsdorf is part of the thomas group and in April of this year received general building approval from the German Institute for Building Technology in Berlin (DIBt) for the CEM...
Generally, low quality fly ash (LQFA) is a kind of micron industrial by-product which seriously affects the strength of cement-based materials, and in order to explore a method to improve this...
The World Cement Association has announced its 6th Annual Conference and Exhibition, which will take place from 24th – 25th October 2023, at the Emirates Towers, in Dubai/UAE. The conference is an...
(22) 21.03.2022(43) 05.04.2023(57) The reducing mixture of Cr (VI) contained in cements is a mixture of two industrial by-products: on the one hand, filter cake of ferrous sulphate (Filter Salt), as a...
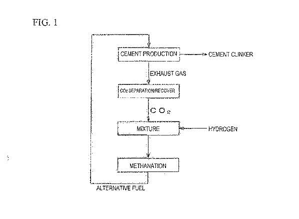
(22) 28.05.2021(43) 12.04.2023(57) A CO2 separation/recover method in cement production exhaust gas has a step of harmful component removal that removes an acidic component and a harmful component...
(22) 29.10.2021(43) 19.04.2023(57) Wasted gypsum boards are crushed and calcined to gypsum granular solid, and the gypsum granular solid is mixed with water to form gypsum slurry. Gypsum particles are...
(22) 20.08.2020(43) 27.03.2023(57) A method of nano cement production provides co-crushing in ball mill of Portland cement clinker or Portland cement, gypsum stone, mineral additive, polymer modifier...
(22) 24.10.2022(43) 22.03.2023(57) Processing pollutants from flue gas with some of the circulated materials that adversely affect the firing process among the high-temperature combustion gas and raw...
(22) 01.12.2022(43) 23.03.2023(57) The present invention relates to a recycling system of chlorine bypass dust and a recycling method using the same. The recycling method of chlorine bypass dust of...
(22) 23.09.2021(43) 30.03.2023(57) The invention relates to a process for manufacturing clinker and Portland cement by using non-recyclable white/coloured glass waste from glass industry, in the raw...
(22) 23.02.2021(43) 16.03.2023(57) The present invention lies within the field of construction materials and concerns a process for separating the constituents of hardened concrete, with the aim of...
(22) 14.09.2022(43) 23.03.2023(57) Embodiments of a system and a method for manufacturing calcined gypsum can include an in-line calcination control device having an x-ray analyzer. The x-ray analyzer...
(22) 29.10.2020(43) 06.04.2023(57) A system and method for controlling operations of a cement kiln plant. The system comprises first and second processing logic. The first processing logic is...
(22) 09.09.2021(43) 16.03.2023(57) A system and method for preparing sulphoaluminate cement by drying sludge via solar heat storage. The system comprises: a solar concentrator that is sequentially...
(22) 10.11.2021(43) 16.03.2023(57) The present invention belongs to the technical field of functional material preparation, and specifically relates to a grinding aid for cement and a preparation...
(22) 25.02.2022(43) 06.04.2023(57) Provided are a low-temperature desulfurization and denitrification method and system for flue gas of a cement plant. The low-temperature desulfurization and...
(22) 26.09.2022(43) 06.04.2023(57) The present invention provides a method whereby carbon dioxide can be efficiently fixed and calcium carbonate, which is a valuable, can be efficiently produced from...
(22) 04.10.2022(43) 13.04.2023(57) The invention relates to a method and plant for producing cement clinker, comprising the steps of: burning raw materials to form cement clinker in a furnace (2),...
(22) 13.10.2022(43) 20.04.2023(57) A method is provided for inputting thermal energy into fluidic medium in a cement manufacturing process by at least one rotary apparatus comprising a casing with at...
(22) 19.10.2021(43) 20.04.2023(57) A cement composition including a hydraulic cement material, a latent-hydraulic cement material, and a non-hydraulic cement material. Also provided is a method...
Mining and extraction of raw materials is not only the focus of this issue of the ZKG magazine – it also is the beginning of almost all industrial value chains. Since man found out what to do with all...
In this research project, new methods for flame monitoring of hydrogen-rich gases in the context of industrial furnaces using thermoacoustic sensors will be developed and optimized by OWI Science for...
Capture CO2 emissions from the cement industry via carbon capture and utilization (CCU) and use them as raw materials – for example to produce basic chemicals such as olefins and higher alcohols. The...
Processes and technologies for more sustainability and CO2 reduction in the production of building materials are increasingly in the focus of manufacturers and users. Some current projects and...