Method for crystallizing gypsum
(22) 29.10.2021
(43) 19.04.2023
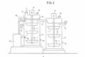
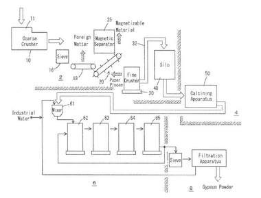
(57) Wasted gypsum boards are crushed and calcined to gypsum granular solid, and the gypsum granular solid is mixed with water to form gypsum slurry. Gypsum particles are deposited from the gypsum slurry in a crystallization tank. Heated steam is blown into the gypsum slurry at a height from surface of the gypsum slurry and down to upper 1/5 of the gypsum slurry to heat the gypsum slurry and to eliminate foam on the gypsum slurry.
(71) Tokuyama Corporation, Shunan-shi, Yamaguchi-ken 745-8648 (JP)
(84) Designated Contracting States: AL AT BE BG CH CY CZ DE DK EE ES...
(22) 29.10.2021
(43) 19.04.2023
(57) Wasted gypsum boards are crushed and calcined to gypsum granular solid, and the gypsum granular solid is mixed with water to form gypsum slurry. Gypsum particles are deposited from the gypsum slurry in a crystallization tank. Heated steam is blown into the gypsum slurry at a height from surface of the gypsum slurry and down to upper 1/5 of the gypsum slurry to heat the gypsum slurry and to eliminate foam on the gypsum slurry.
(71) Tokuyama Corporation, Shunan-shi, Yamaguchi-ken 745-8648 (JP)
(84) Designated Contracting States: AL AT BE BG CH CY CZ DE DK EE ES Fl FR GB GR HR HU IE IS IT LI LT LU LV MC MK MT NL NO PL PT RO RS SE SI SK SM TR; Designated Extension States: BA ME; Designated Validation States: KH MA MD TN
