Cement kiln exhaust gas pollution reduction
(22) 21.11.2016
(43) 09.03.2017
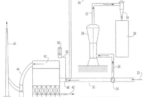
(57) A method for reducing pollution in a cement kiln environment and a system for treating cement kiln exhaust gas are provided. The method includes the steps of: treating a cement kiln exhaust gas stream with a treating fluid, such as a water soluble alkaline-earth metal sulfide. In one application, the treating fluid is injected by spraying droplets into the cement kiln exhaust gas stream. A system for treating cement kiln exhaust gas includes a reagent containing a water soluble alkaline-earth metal sulfide in water, and a nozzle to spray the reagent into the...
(22) 21.11.2016
(43) 09.03.2017
(57) A method for reducing pollution in a cement kiln environment and a system for treating cement kiln exhaust gas are provided. The method includes the steps of: treating a cement kiln exhaust gas stream with a treating fluid, such as a water soluble alkaline-earth metal sulfide. In one application, the treating fluid is injected by spraying droplets into the cement kiln exhaust gas stream. A system for treating cement kiln exhaust gas includes a reagent containing a water soluble alkaline-earth metal sulfide in water, and a nozzle to spray the reagent into the cement kiln exhaust gas stream.
(71) Mercutek LLC, Newtown, CT (US)
(73) Mercutek LLC, Newtown, CT (US)
