Clinker cooler
(22) 27.08.2013
(43) 04.03.2015
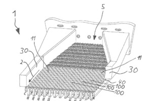
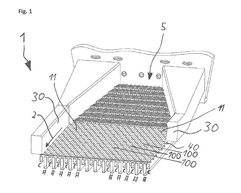
(57) A Conveyor floor 1 for conveying bulk material like cement clinker in a conveying direction from a bulk material inlet to a bulk material outlet, with longitudinal reciprocating planks 100 which extend in parallel to the conveying direction and are arranged one besides of the other with moving gaps in between provides enhanced conveying at lower costs, if each plank 100 has a mean coefficient of friction Cf for moving of the bulk material in the conveying direction relative to planks 100 being significantly lower than the mean coefficient of friction Cb for...
(22) 27.08.2013
(43) 04.03.2015
(57) A Conveyor floor 1 for conveying bulk material like cement clinker in a conveying direction from a bulk material inlet to a bulk material outlet, with longitudinal reciprocating planks 100 which extend in parallel to the conveying direction and are arranged one besides of the other with moving gaps in between provides enhanced conveying at lower costs, if each plank 100 has a mean coefficient of friction Cf for moving of the bulk material in the conveying direction relative to planks 100 being significantly lower than the mean coefficient of friction Cb for moving of the bulk material against the conveying direction relative to the respective plank.
(71) Alite GmbH, 31535 Neustadt (DE)
(84) Designated Contracting States: AL AT BE BG CH CY CZ DE DK EE ES FI FR GB GR HR HU IE IS IT LI LT LU LV MC MK MT NL NO PL PT RO RS SE SI SK SM TR
Designated Extension States: BA ME
