Cooler for cooling bulk material, in particular cement clinker
(22) 09.03.2021
(43) 16.09.2021
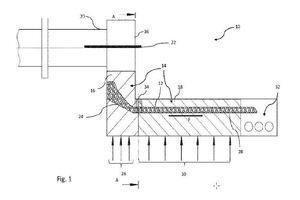
(57) The present invention relates to a cooler (10) for cooling bulk material (12), in particular cement clinker, having a cooling-gas space (14), through which a stream of cooling gas for cooling the hulk material (12) can flow in a transverse stream, and a conveying device for conveying the bulk material (12) in the conveying direction (F) through the cooling-gas space (14), wherein the cooling-gas space (14) comprises a first cooling-gas-space portion (16) with a first cooling-gas stream (26) and a second cooling-gas-space portion (18), which adjoins the first...
(22) 09.03.2021
(43) 16.09.2021
(57) The present invention relates to a cooler (10) for cooling bulk material (12), in particular cement clinker, having a cooling-gas space (14), through which a stream of cooling gas for cooling the hulk material (12) can flow in a transverse stream, and a conveying device for conveying the bulk material (12) in the conveying direction (F) through the cooling-gas space (14), wherein the cooling-gas space (14) comprises a first cooling-gas-space portion (16) with a first cooling-gas stream (26) and a second cooling-gas-space portion (18), which adjoins the first in the conveying direction (F) of the bulk material (12) and has a second cooling-gas stream (30), wherein the cooler (10) has a separating device (34) for gas separation of the cooling-gas-space portions (16, 18) from one another, wherein the separating device (34) has a plurality of sealing elements (42) and at least one suspending element (40), on which a plurality (…).
(71) thyssenkrupp Industrial Solutions AG, ThyssenKrupp Allee 1, 45143 Essen (DE)
