Cement kiln dust treatment system and method
(22) 18.08.2011
(43) 14.06.2017
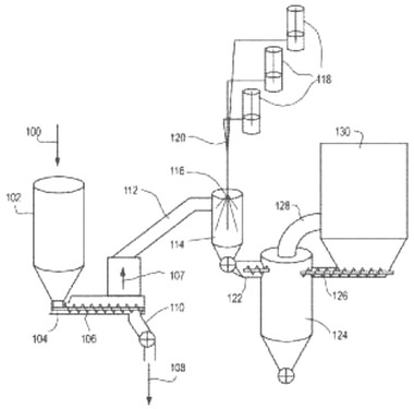
(57) The invention relates to a method for treating cement kiln dust comprising at least one heavy metal. The method comprises the steps of: separating the heavy metal from the cement kiln dust to create a heavy-metal-containing stream; treating the heavy metal stream with a treating fluid containing at least one of an alkaline-earth metal sulfide and an alkaline-earth metal polysulfide; and removing at least a portion of the heavy metal from the stream. Moreover, the invention relates to a method of reclaiming a desired raw material from an industrial byproduct...
(22) 18.08.2011
(43) 14.06.2017
(57) The invention relates to a method for treating cement kiln dust comprising at least one heavy metal. The method comprises the steps of: separating the heavy metal from the cement kiln dust to create a heavy-metal-containing stream; treating the heavy metal stream with a treating fluid containing at least one of an alkaline-earth metal sulfide and an alkaline-earth metal polysulfide; and removing at least a portion of the heavy metal from the stream. Moreover, the invention relates to a method of reclaiming a desired raw material from an industrial byproduct containing mercury. The method comprises the steps of: separating the mercury from the industrial byproduct by adding sufficient kinetic energy to the industrial waste to form a stream of separated mercury and a stream containing the desired raw material; treating the stream of separated mercury with a treating fluid containing at least one of an alkaline earth metal sulfide and an alkaline earth metal polysulfide to form a particulate containing the mercury; collecting the desired raw material separately from the particulate; and collecting the particulate for subsequent handling.
(71) Mercutek LLC Newtown, CT 06470 (US)
(84) AL AT BE BG CH CY CZ DE DK EE ES Fl FR GB GR HR HU IE IS IT LI LT LU LV MC MK MT NL NO PL PT RO RS SE SI SK SM TR
