Dear Readers, A trade journal thrives on technical articles – of course. The editorial team is also always pleased to receive good, in-depth articles that give the reader the satisfying feeling of ...
Cementir Group, through its subsidiary Aalborg Portland, is likely to become one of the first global cement producers to capture, transport and store CO2 underground. The Group is part of the...
The company has doubled the size of its factory premises by purchasing adjacent land. Two new halls are being built on the additional space. While the previous factory buildings will then offer more...
World Cement Association (WCA) has announced that global energy technology company, Baker Hughes, has become the latest addition to its international community, joining as an Associate Corporate...
Cemex announced that, as part of its growth strategy, it will increase capacity in Guatemala with the construction of a new cement grinding mill that is expected to be completed in early 2023. This...
Cemex has announced that it will work together with Volvo Construction Equipment and Volvo Trucks to develop a zero-emissions fleet with electromobility solutions that aligns with Cemex’s climate...
The further development of CCUS pathways is a central part of Heidelberg-Cement’s carbon neutrality roadmap. At the beginning of September, the project ACCSESS has been officially presented by the...
Effective October 1st, Rajah Jayendran, formerly Head of Operations Europe/CIS/Turkey, succeeded Gerd Schubert in RHI Magnesita’s Executive Management Team as Chief Operations Officer (COO). Gerd...
Rema Tip Top AG has acquired Kubicek Fördertechnik GmbH, a full-range supplier of wear protection and materials handling technology based in Glinzendorf/Austria. With the acquisition of the full-range...
Claudius Peters Projects GmbH was able to convince with a technically smart silo construction concept for the cement plant Leube in Austria. This concept supports Leube’s further efforts to have a...
The Karsdorf Cement plant is part of Opterra GmbH, Germany. The plant has pushed towards sustainable cement production with investments into emission reduction systems as well as alternative fuel...
Highest flexibility, fast truck loading and dust free operation – the raw material receiving hopper InterHop guarantees all of this. 30 t of material can be unloaded in less than 30 s. Truck loading...
Titan Cement Group and Terna Energy, in a joint venture, will participate in the public tender process for the PPPs of the Mechanical & Biological Waste Treatment (MBT) plants in Attica and Central...
HeidelbergCement and Command Alkon, a global leader in comprehensive supply chain technology solutions for heavy building materials, have announced that as part of a new partnership with Thoma Bravo,...
Holcim has closed the acquisition of the Utelite Corporation in Coalville, Utah/US, a leading producer of lightweight aggregates. Utelite will join Holcim’s Mountain Region, alongside operations in...
As part of New York Climate Week, the Global Cement and Concrete Association (GCCA) has announced that it will become an accelerator of the United Nations (UN) backed Race to Zero campaign – which...
In 2019, Buzzi Unicem and the Vercelli campus of the University of Eastern Piedmont (UPO) entered an agreement to increase the level of expertise in the construction materials sector and work together...
Askari Cement Ltd has ordered three MVR vertical roller mills from Gebr. Pfeiffer for its plant in Nizampur.Askari Cement is one of the leading cement producers in Pakistan, a company that produces ...
Demand for iron mill slag in Germany was again high last year. Due to the pandemic and the resulting decline in crude steel production to 35.7 million t, only 10.9 million t of iron slag were produced ...
Cement production represents 7-8% of the global CO2 emission – carbon capture technologies are essential to reduce that number and meet the targets of the Paris Agreement.The new collaboration between...
The order books in the mechanical and plant engineering sector are well filled, but at the same time many companies are struggling with increasing material and supply bottlenecks. Shortages of ...
The World Cement Association (WCA) has announced it has further expanded its international network of members by welcoming the Institute of Concrete Technology (ICT) as an Affiliate Member.The ICT was...
In its raw materials strategy adopted in 2020, the federal government states that the use of all domestic mineral raw materials is indispensable for Germany’s economy and prosperity. Sand, gravel,...
Aumund Group announces the launch of its Premas® 360° Packages combining quality Aumund services into unique packages at one price, Aumund provides all-around maintenance support, wherever and...
Cembureau welcomes the opportunity to provide feedback on the Commission Standardisation Strategy Roadmap. Cembureau recognises the value of the EU standardisation system for the well-functioning of...
Holcim announces its strategy to become nature-positive by restoring and preserving biodiversity and water while bringing more nature into cities. Holcim’s positive impact on biodiversity is based on...
At the 73rd General Meeting of the German Construction Chemicals Association Industry on September 9, 2021, at Petersberg near Bonn, the delegates confirmed all board members in office. Dr. Christoph...
The fact that defective drives generate different vibrations than intact ones should have been known for centuries. In the 1960s, one of the first standards on the subject was created with VDI...
In many cases, so-called spray guns are used for odor and dust control in plants. There are always requirements for the spraying system that do not necessarily fit together. For example, the throwing...
ABB has launched the ABB Ability™ eMine, a portfolio of solutions that will help accelerate the move towards a zero-carbon mine. ABB also unveiled the piloting of the groundbreaking ABB Ability eMine...
Despite the Covid-19 pandemic, climate and environmental protection are once again pushing their way to the top of the social discussion agenda. The global environmental sector is forecast to grow...
For the twelfth time, Maschinenfabrik Gustav Eirich together with ECREF European Centre for Refractories gem. GmbH will present the Gustav Eirich Award (GEA) at the International Refractories...
In the beginning, there was an idea and a man who grasped an opportunity, with his experience and his employees, and closed a recycling gap. He even received Berlin’s Green Tech Award for the solution...
The cement industry in Africa developed mostly positively in 2020 despite the Covid-19 pandemic, especially south of the Sahara. However, due to the high rates of population increase, especially in...
This paper introduces the large raw material roller press finish grinding system developed by Tianjin Cement Industry Design & Research Institute Ltd, which adopts newly developed equipment and...
Preheater tower downtime is costly in cement processing, both from a production and energy standpoint. Old air cannon solutions raise labor costs and put workers at potential risk in a daunting job...
(22) 02.06.2021(45) 22.07.2021(57) The present utility model refers to a bag or a bundle-type packaging suitable to contain cement or other similar material, consisting of at least one sheet of paper...
(22) 04.06.2021(45) 22.07.2021(57) The present invention relates to the field of air pollution control technical, in particular to an acid-redox dual sites synergistic NH3-SCR catalyst, a preparation...
(22) 12.08.2016(43) 12.08.2021(57) Process for manufacturing highly porous slaked lime comprising a feeding step of quicklime, a feeding step of water in a feeding zone of a hydrator, a slaking step...
(22) 26.09.2018(43) 22.07.2021(57) There are provided a cement kiln burner device capable of intensively bringing a combustible solid waste into a floating state within a cement kiln and easily...
(22) 18.12.2020(43) 19.08.2021(57) Described are cementitious reagent materials produced from globally abundant inorganic feedstocks. Also described are methods for the manufacture of such...
(22) 05.02.2021(43) 12.08.2021(57) Activator for a slag cement based shotcrete, comprising a first constituent and a second constituent, said first constituent containing a calcium aluminate cement...
(22) 11.01.2021(43) 29.07.2021(57) The present invention relates to a device for the production of cement clinker, said device comprising a preheater (50), a calciner (60) and a cooler (70). Said...
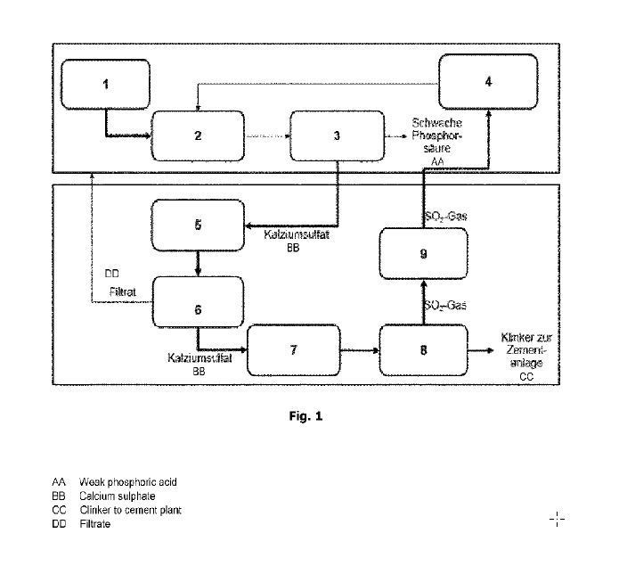
(22) 05.01.2021(43) 15.07.2021(57) The invention relates to a method for producing sulphuric acid and cement clinker and for obtaining rare earth elements using calcium sulphate, which is formed and...
(22) 12.02.2019(43) 15.07.2021(57) The present provides a concrete and mortar mix and composition thereof with poor quality sand such as desert sand, hydraulic binder (cement) and filamentous...
(22) 23.01.2020(43) 28.07.2021(57) (Abstract title): Building product formed from a calcium carbonate binder and a lignocellulosic bio-aggregate: A bio-aggregate based building product formed from a...
(22) 26.04.2019(43) 05.08.2021(57) Processes and plants for producing cement clinker, wherein no recirculation of preheater exhaust gases occurs and the ratio of solid fed in to exhaust gas in the...
(22) 23.11.2020(45) 03.08.2021(57) Field: construction materials industry. Substance: invention relates to methods for producing white cement clinker and can be used in the construction materials...
(22) 18.02.2020(43) 18.08.2021(57) A calciner 18 for receiving raw meal 102 from a preheater 20 of a cement clinker line 1, for calcining the raw meal 102 and for providing the calcined and/or...
(22) 26.09.2019(43) 11.08.2021(57) The present disclosure relates to a cement mortar additive and a method of manufacturing the same. More particularly, the present disclosure relates to a cement...
(22) 30.03.2016(43) 18.08.2021(57) Disclosed is the use in the construction industry, as a filler and/or a binder in concrete or cement, as black hard chunks, and/or as a high density ballast, of a...
(22) 13.07.2021(43) 12.08.2021(57) A system for providing a continuous stream of foamed cement product and a mixing and pump apparatus, system and an associated method for providing a stream of foamed...
The EN 12004 defines the characteristics of ceramic tile adhesives. Because these materials are applied as pastes which undergo reactions to be turned into hard bodies the norm defines the...
Digitization – also in the building materials industry – can no longer be stopped, even if – as in many other areas – progress is sometimes slow for a variety of reasons. All it takes is a little ...
Whenever I try to explain the beauty of our industry to people who have no connection to cement other than seeing that grey old dusty powder in the most remote alleyways of their hardware store, I ask ...