Method for producing white cement clinker
(22) 23.11.2020
(45) 03.08.2021
(57) Field: construction materials industry. Substance: invention relates to methods for producing white cement clinker and can be used in the construction materials industry. The method for producing white cement clinker includes the preparation of a raw material mixture, the supply of a mineralizer, the baking of the raw material mixture with a mineralizer in a rotating furnace of the dry production method and the sharp cooling of the white cement clinker in water. Moreover, the raw material mixture is mixed with the dust of dust-collecting devices before...
(22) 23.11.2020
(45) 03.08.2021
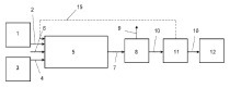
(57) Field: construction materials industry. Substance: invention relates to methods for producing white cement clinker and can be used in the construction materials industry. The method for producing white cement clinker includes the preparation of a raw material mixture, the supply of a mineralizer, the baking of the raw material mixture with a mineralizer in a rotating furnace of the dry production method and the sharp cooling of the white cement clinker in water. Moreover, the raw material mixture is mixed with the dust of dust-collecting devices before baking, and baking occurs at a temperature of 1250-1350 °C, and a dust-like mineralizer 2C2S∙CaF2 in an amount of 1.5-11% is fed into the rotating furnace of the dry production method through the dust nozzle in the amount of 1.5-11% to the temperature range of the material 845-1255 °C, while the angle between the horizontal axis of the cross-section of the rotating furnace of the dry production method and the line passing through the axes of the dust nozzle and the fuel nozzle is 30-90°, the distance between the axles of the fuel nozzle and the dust nozzle is 250-2500 mm, the distance to which the dust nozzle is extended relative to the fuel nozzle is 0-2000 mm, the angle of inclination of the dust nozzle axis relative to the fuel nozzle axis is 0-30°.
Effect: decrease in the baking temperature of white cement clinker, an increase in its whiteness, the stability of the quality characteristics of white cement clinker, the performance of rotating furnaces of dry and combined production methods, a decrease in the specific fuel consumption for baking white cement clinker.
(73) Federalnoe gosudarstvennoe biudzhetnoe obrazovatelnoe uchrezhdenie vysshego obrazovaniia “Belgorodskii gosudarstvennyi tekhnologicheskii universitet im. V.G, Shukhova” (RU)
