Content

Editorial

The highlight for the mortar industry

At the end of June, a highlight in the field of mortar production, construction chemicals, plaster and insulation production awaits us: the European Mortar Summit 2025. The focus will be on topics such as the economic situation of the mortar industry, the outlook for future developments, sustainability and digitalization in the mortar/building materials industry.

more

Spotlight

NORD DRIVESYSTEMS

NXD makes aluminium more resistant and durable

With NXD, Nord Drivesystems has launched the latest generation of its surface treatment. The system manufacturer equips its aluminium drive solutions with two variants of effective surface protection....

more
XELLA

Xella makes sustainable building transparent

Sustainability is important, especially for the construction industry - but what does it mean in concrete terms? Which materials are environmentally friendly? How can energy-efficient, resource-saving...

more
QMS

QMS replaces primary crusher at Breedon’s Hope Cement Works

Breedon Group’s Hope Cement Works is located near to the village of Hope in Derbyshire/England. It is recognised as the UK’s largest cement plant and is integral to Breedon’s cement manufacturing capabilities. In order to sustain the processing of quarried limestone required for cement manufacturing, the Group recently executed a major project to replace its 1940’s Fuller Traylor primary gyratory crusher.

more

Events

Digitalization - From PDF to DPP

The European Commission has included the digital product passport (DPP) concept in the new CPR (construction product regulation) and other EU Regulations, such as the ESPR (ecodesign for sustainable...

more

Lime - The champion of recarbonation

EuLA, the European Lime Association, represents the European non-captive lime production across 24 Member States, encompassing both companies and national associations. Lime is one of the essential...

more

From EPD to DoPC

The freshly published Construction Products Regulation, EU 2024/3110 (CPR 2024), and the delegated regulation EU 2024/2769 amending EU 305/2011 (CPR 2011), introduces new assessment and verification...

more
10th International Drymix Mortar Conference

idmmcX: The International Drymix Mortar Conference celebrates its 10th anniversary

On March 24, 2025, the International Drymix Mortar Conference celebrated its 10th anniversary - and set a new attendance record with over 220 participants. While the breaks in the program offered the opportunity to exchange ideas with the exhibiting companies, the speakers presented 21 different topics as part of the conference. An overview.

more

Materials

Logistics

Patents

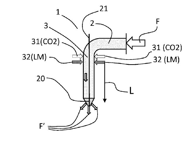
EP 4 512 955 A1

Method and reactor for producing pcc

(22) 19.08.2024(43) 26.02.2025(57) The present invention relates to a method and a reactor to crystalize calcium carbonate and to form crys­tals in a liquid flow (F) with the concentration of 2.5-5%...

more
WO 2025/045705 A1

Component grinding of cement components

(22) 22.08.2024(43) 06.03.2025(57) The present invention relates to a process for producing cement on the basis of at least two components, characterized in that at least two of the components are...

more
WO 2025/051979 A1

Carbon capture process

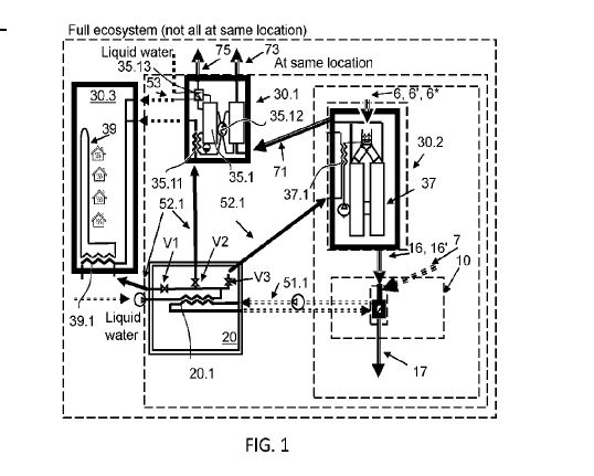
(22) 06.09.2024(43) 13.03.2025(57) Abstract: A CO2 capture process comprising: -Hydrating quicklime materials (16) and/or quick dolomitic lime materials (16‘) to produce hydrated materials (17); -...

more
WO 2025/058636 A1

Bioderived renewable graphene enhanced cement

(22) 26.09.2023(43) 20.03.2025(57) A hardened cement produced by setting a cement slurry including graphene comprising bioderived renewable graphene (BRG), a cement, and water. The graphene of the...

more
WO 2025/061554 A1

Vertical centrifugal roll mill

(22) 12.09.2024(43) 27.03.2025(57) The present invention relates to a method for operating a vertical centrifugal roll mill, characterized in that activated clays are fed via the pneumatic classifier...

more

Digitalization