Dear Readers, 2050 is a magic year – a wealth of roadmaps postulate a carbon neutral industry by 2050, such as the iron and steel, cement or energy industries. This goal is necessary to keep global ...
Especially in the recent past, Pfeiffer MVR vertical roller mills have been installed in many African countries. So, the news about the many advantages of this innovative grinding technology is...
Cementos Artigas, a partnership between the Brazilian Votorantim Cimentos and the Spanish Cementos Molins, has opened its new cement grinding and dispatch facilities in the city of Minas/Uruguay. The...
Climate tech pioneer Carbon Re is joining forces with cement manufacturing consulting firm A³&Co.® to accelerate the decarbonization of the cement industry. The two organizations have signed a...
The World Cement Association (WCA) has announced that it is welcoming Sick AG, a leading global supplier of sensor solutions, as the latest Associate Corporate Member. The cooperation between Sick,...
RHI Magnesita has signed a long-term strategic cooperation agreement with the Australian cleantech MCi Carbon. The company is investing several millions into research and development for innovative...
New research by climate tech pioneer Carbon Re has found that the cement industry could deploy a combination of 13 existing technologies to reduce CO2 emissions by 0.8 gigatonnes per year. This is ...
Heidelberg Materials acquires SER Group, a leading integrated company in the demolition and construction materials recycling business, based in Heilbronn, Southern Germany. With an annual revenue of...
ABB has delivered advanced automation and digital technologies to global building materials and sustainable solutions company Votorantim Cimentos, as it embraces Industry 4.0 in cement to...
Holcim launches Europe’s first calcined clay cement operation in its Saint-Pierre-la-Cour plant in France to deliver ECOPlanet green cement with 50% lower CO2 footprint compared to standard cement ...
Cembureau has reacted to the 2041 phase-out date for industrial CO2 in the Commission draft Delegated Act on renewable fuels of non-biological origin (RFNBOs). “By proposing an arbitrary deadline on...
Sustainability, resource conservation and CO2 reduction are becoming increasingly important in the building materials industry. In particular, the use of secondary raw materials and the processing of ...
A big step towards the revolution of the cement industry: The EU is investing € 109.8 million in Holcim’s innovative Carbon2Business project in Lägerdorf, Schleswig-Holstein. On 19 January, CEO of...
At a joint event in Berlin/Germany on 9 February 2023, Volvo Trucks has supplied Cemex with the world’s first fully electric and zero-emission heavy concrete mixer. The truck is the latest development...
Whether it is cement manufacture or steel production, CO2 emissions are a problem in many industries because they cannot be avoided everywhere. But raw materials for the chemical industry can be...
On January 19th, 2023, representatives from Perstorp, Uniper and CINEA (European Climate, Infrastructure and Environment Executive Agency) met to officially sign the agreement granting the project...
The avoidance of carbon dioxide in the production of cement and concrete is the central challenge for our society if it wants to stop climate change and at the same time meet its demand for building...
With the shutdown of coal-fired power plants, the production of FGD gypsum as a by-product of coal combustion will cease. To meet demand in the construction sector, pressure is therefore growing on...
Pneumatic conveying systems for bulk materials, e.g. in the food industry, chemical and process engineering, cement and lime industry, and many others, have to reconcile a multitude of requirements –...
Microtrac introduces the latest generation of dynamic image analyzers in the Camsizer series: The Camsizer 3D provides a ground-breaking innovation in particle characterization with a true...
The brand-new The Procheck Guide for Cement Packing Plants from Haver & Boecker bundles practical knowledge for the sustainable optimization of Haver & Boecker packing plants in the cement industry in...
In closed transfers systems to conveyor belts of cement works, particularly high pressure can develop and, despite effective side sealing at the chutes, there can be a lot of dust. The solution: the...
Martin Engineering, a global innovator of conveyor technologies, has announced a factory-direct replacement program to deliver freshly-molded polyurethane cleaner blades for conveyor belts....
Germany has committed itself to climate neutrality by 2050 in the Paris climate protection agreement. The decarbonization of the cement industry is a significant building block on the way to Germany’s...
After a two-year break due to the Covid-19 pandemic, the cement conference of the Verein Deutscher Zementwerke e.V. (VDZ) was held again in presence at the Maritim Hotel Düsseldorf from 3 - 4 November...
The cement industry is on a transformation path towards carbon neutrality. Several roadmaps have been developed to outline the opportunities, challenges and actions to reach this goal. However, almost...
Facing more and more strict and detailed environmental protection standards, Chinese cement enterprises have to adopt various desulfurization technologies. The authors analyze the cycle processes of...
Aiming at the unstable emission of NOx and SO2 when the cement industry uses refuse-derived fuel (RDF) to partially replace the traditional pulverized coal as fuel for combustion, this paper uses the...
A method is presented for transferring the conveying pressure drops determined using a test pneumatic conveying system to an industrial system that differs in geometry and routing. For this purpose,...
Cement plant operators worldwide face the same challenges in raw material crushing. The service lifetime of the rotors in the various (several, different) crushing plants plays a central role in their...
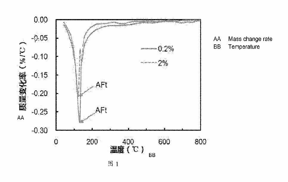
(22) 19.04.2022(43) 07.06.2022(57) The invention relates to the field of building materials, in particular to cement powder and a preparation method thereof. The cement powder comprises the following...
(22) 03.03.2021(43) 26.12.2022(57) A method of cement production includes roasting clinker in a furnace at the temperature of 1450 °C, purifying the dust from furnace flue gases containing CO2, SOX,...
(22) 24.08.2022(43) 29.12.2022(57) Aspects of the invention include a method of producing a cement material comprising step of: first reacting a calcium-bearing starting material with a first acid to...
(22) 18.12.2020(43) 29.12.2022(57) A method of processing exhaust gas containing CO2, such as exhaust gas from a cement production plant, includes burning fuel in the combustion reactor with the O2...
(22) 18.12.2020(43) 05.01.2023(57) A method of producing cement clinker and a second calcined material, wherein the cement clinker is produced in a first production line and the second calcined...
(22) 30.06.2022(43) 05.01.2023(57) A high-silica-containing supplemental cementitious materials, and a method of producing same. This material undergoes a pozzolanic reaction during hydration in a...
(22) 30.05.2022(43) 08.12.2022(57) The invention relates to a method for producing cement clinker, comprising the following method steps: preheating lime- and silicate-containing raw meal in a...
(22) 13.06.2022(43) 15.12.2022(57) A compressive strength improving, water uptake reducing additive composition comprising: an alkyl silane or its hydrolysate or mixture thereof comprising a silicon...
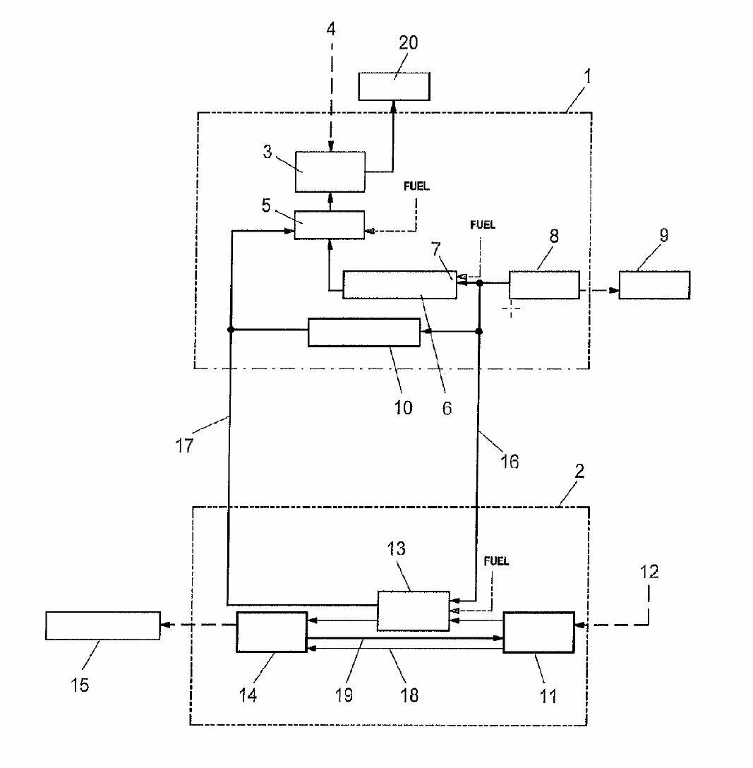
(22) 14.06.2022(43) 22.12.2022(57) The invention relates to an installation, in particular a cement clinker installation (1), and to a method for depositing a volatile component, in particular...
(22) 16.09.2022(43) 26.01.2023(57) An ultra-low-carbon clinker-free cement, prepared from the following raw materials: a granulated blast furnace slag, plaster, and calcium oxide raw materials. The...
(22) 18.07.2022(43) 26.01.2023(57) The present invention relates to a high-strength fly ash cement composition using a coal gasifier fly ash and, more particularly, to a fly ash cement composition...
(22) 15.07.2022(43) 19.01.2023(57) A process is disclosed for the combined manufacture of steel and cement clinker. Steel scrap is loaded in an electric arc furnace for forming molten steel. Cement...
The Portland Cement Association (PCA) has promoted Portland Limestone Cements (PLC) and thereby kicked off a massive move towards those low carbon cements which can now contain up to 15% limestone....