Paper sack
(22) 10.04.2014
(43) 24.03.2016
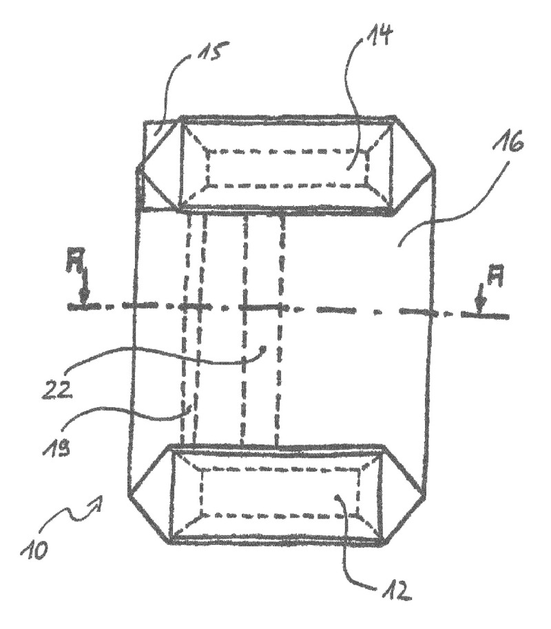
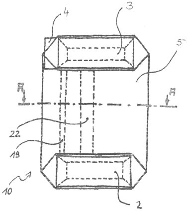
(57) The present invention relates to a paper sack for bulk material such as cement, gypsum, granulate, animal feed or similar, having a base, preferably a cross bottom or block bottom, and having an upper part which is disposed opposite the base and in which a valve hose is optionally arranged for filling the paper sack, wherein the paper sack has a coated paper layer, having a gas-tight coating facing the sack interior, wherein the coating forms the surface of the inner wall of the paper sack contacting the filling material, and wherein the coated paper layer...
(22) 10.04.2014
(43) 24.03.2016
(57) The present invention relates to a paper sack for bulk material such as cement, gypsum, granulate, animal feed or similar, having a base, preferably a cross bottom or block bottom, and having an upper part which is disposed opposite the base and in which a valve hose is optionally arranged for filling the paper sack, wherein the paper sack has a coated paper layer, having a gas-tight coating facing the sack interior, wherein the coating forms the surface of the inner wall of the paper sack contacting the filling material, and wherein the coated paper layer has an overlap which is sealingly adhesively bonded toward the sack interior, and wherein the layer of the coated paper layer facing the sack interior has perforations in the region of the overlap which are covered by the layer of the coated paper layer facing the sack exterior.
(71) Dy-Pack Verpackungen Gustav Dyckerhoff GmbH, Wenden-Gerlingen (DE)
