Method for producing cement clinker
(22) 09.03.2023
(43) 26.06.2025
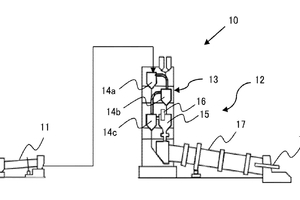
(57) A method for producing a cement clinker, that includes using fuel containing gas fuel as fuel of a precalcination burner in a precalcination furnace that precalcinates cement clinker powder raw material.
(71) Tokuyama Corporation, Yamaguchi (JP)
(22) 09.03.2023
(43) 26.06.2025
(57) A method for producing a cement clinker, that includes using fuel containing gas fuel as fuel of a precalcination burner in a precalcination furnace that precalcinates cement clinker powder raw material.
(71) Tokuyama Corporation, Yamaguchi (JP)
