Energy-saving optimization method of cement raw material vertical mill system
(22) 26.11.2019
(43) 02.07.2020
(57) An energy-saving optimization method of a cement raw material vertical mill system. Safe, convenient and reasonable auxiliary decision-making is smartly provided by a machine learning method without changing any structure and principle of a production equipment, adding additional measuring spots and affecting normal production. The method comprises: acquiring historical operational data and form multiple historical operational models, the historical operational data comprising controllable variables, the controllable variables comprising a mill milling...
(22) 26.11.2019
(43) 02.07.2020
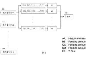
(57) An energy-saving optimization method of a cement raw material vertical mill system. Safe, convenient and reasonable auxiliary decision-making is smartly provided by a machine learning method without changing any structure and principle of a production equipment, adding additional measuring spots and affecting normal production. The method comprises: acquiring historical operational data and form multiple historical operational models, the historical operational data comprising controllable variables, the controllable variables comprising a mill milling pressure, a mill inlet vacuum, a mill outlet vacuum, a hot blast valve opening, a cold blast valve opening, a mill inlet temperature, a mill outlet temperature and a fan valve opening; dividing feeding amount partitions; sorting the historical operations of the same feeding amount partition according to the power consumption per unit, to obtain the optimal historical operational record of one feeding amount partition, and merging the optimal historical operational records of all the feeding amount partitions to form an optimal recommendation form; and acquiring optimal operational suggestion of the device according to a real-time operational condition and the optimal recommendation form.
(71) Xiamen Etom Software Technology Co., Ltd., Fujian 361000 (CN)
