Exhaust gas treatment method and exhaust gas
treatment apparatus
(22) 10.01.2019
(43) 24.12.2020
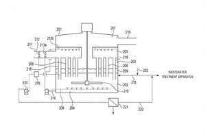
(57) This invention provides a continuous liquid phase type wet exhaust gas treatment method for removing sulfur oxides from exhaust gas and collecting it as gypsum, which method is simple and humidifying liquid is uniformly sprayed into exhaust gas with it. The method is characterized in that humidifying liquid is injected downwardly in a region where exhaust gas flows vertically downwardly.
(71) Chiyoda Corporation, Yokohama-shi, Kanagawa (JP)
(73) Chiyoda Corporation, Yokohama-shi, Kanagawa (JP)
(22) 10.01.2019
(43) 24.12.2020
(57) This invention provides a continuous liquid phase type wet exhaust gas treatment method for removing sulfur oxides from exhaust gas and collecting it as gypsum, which method is simple and humidifying liquid is uniformly sprayed into exhaust gas with it. The method is characterized in that humidifying liquid is injected downwardly in a region where exhaust gas flows vertically downwardly.
(71) Chiyoda Corporation, Yokohama-shi, Kanagawa (JP)
(73) Chiyoda Corporation, Yokohama-shi, Kanagawa (JP)
