Mixing device capable of homogenizing cement
(22) 03.03.2015
(43) 01.09.2016
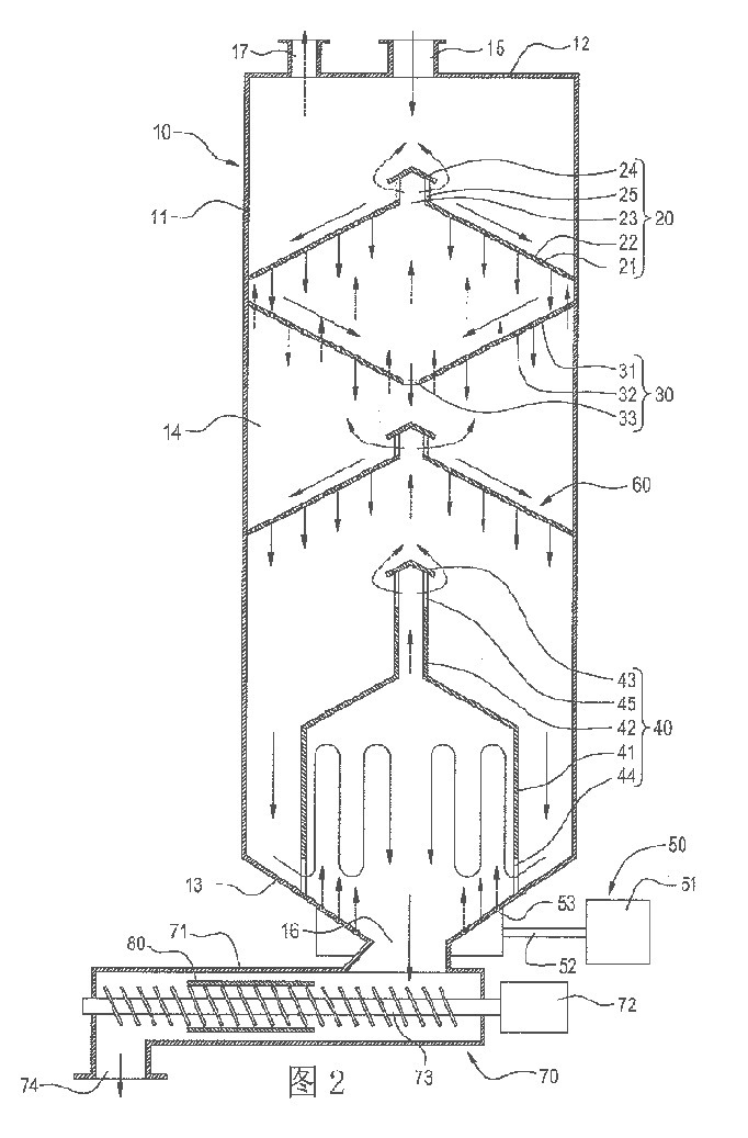
(57) Disclosed is a mixing device capable of homogenizing cement, comprising a bucket body (10), a homogenizing mechanism (20), a material collecting mechanism (30), an air stirring chamber (40) and an air supply mechanism (50), wherein a containing cavity (14) is provided inside the bucket body (10), a feeding opening (15) in communication with the containing cavity (14) is arranged at the upper portion of the bucket body (10), and a discharging opening (16) in communication with the containing cavity (14) is arranged at the lower portion thereof; the...
(22) 03.03.2015
(43) 01.09.2016
(57) Disclosed is a mixing device capable of homogenizing cement, comprising a bucket body (10), a homogenizing mechanism (20), a material collecting mechanism (30), an air stirring chamber (40) and an air supply mechanism (50), wherein a containing cavity (14) is provided inside the bucket body (10), a feeding opening (15) in communication with the containing cavity (14) is arranged at the upper portion of the bucket body (10), and a discharging opening (16) in communication with the containing cavity (14) is arranged at the lower portion thereof; the homogenizing mechanism is fixed inside the containing cavity (14), the homogenizing mechanism (20) comprises a homogenizing canted-board (21), and a plurality of through holes (22) and an exhaust opening (23) are formed on the homogenizing canted-board (21); the material collecting mechanism is fixed inside the containing cavity (14) and is located below the homogenizing mechanism (20), the material collecting mechanism (30) comprises a material collecting canted-board (31), and a plurality of vent holes (32) and a feed opening (33) are formed on the material collecting canted-board (31); the air stirring chamber is formed at the lower portion of the containing cavity (14) and is in communication with the discharging opening (16), a plurality of feeding grooves (44) are provided at the lower portion of the air stirring chamber (40), an air supply groove (45) is provided at the upper portion thereof; and the air supply mechanism comprises a plurality of air inlet holes (53) which are in communication with the bottom of the air stirring chamber (40).
(71) Huazhi Energy Conservation (HK) Co., Limited, Hong Kong (CN)
(84) ARIPO (BW, GH, GM, KE, LR, LS, MW, MZ, NA, RW, SD, SL, ST, SZ, TZ, UG, ZM, ZW), Eurasian (AM, AZ, BY, KG, KZ, RU, TJ, TM), European (AL, AT, BE, BG, CH, CY, CZ, DE, DK, EE, ES, FI, FR, GB, GR, HR, HU, IE, IS, IT, LT, LU, LV, MC, MK, MT, NL, NO, PL, PT, RO, RS, SE, SI, SK, SM, TR), OAPI (BF, BJ, CF, CG, CI, CM, GA, GN, GQ, GW, KM, ML, MR, NE, SN, TD, TG)
