Combined cement grinding system and method
applicable to high-moisture materials
(22) 18.09.2018
(43) 20.02.2020
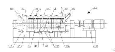
(57) A combined cement grinding system applicable to high-moisture materials. A coarse material discharging port of a powder selecting device (4) and a discharging end of a first belt conveyor (1) are respectively connected to a feeding port of a material bed grinding device (2); a discharging port of the material bed grinding device is connected to a feeding port of the powder selecting device by means of a circulating bucket elevator (3); a discharging end of a second belt conveyor (5) is likewise connected to a feeding port of the powder selecting device; a hot...
(22) 18.09.2018
(43) 20.02.2020
(57) A combined cement grinding system applicable to high-moisture materials. A coarse material discharging port of a powder selecting device (4) and a discharging end of a first belt conveyor (1) are respectively connected to a feeding port of a material bed grinding device (2); a discharging port of the material bed grinding device is connected to a feeding port of the powder selecting device by means of a circulating bucket elevator (3); a discharging end of a second belt conveyor (5) is likewise connected to a feeding port of the powder selecting device; a hot air device (10) is connected to an air inlet of the powder selecting device; a fine material discharging port of the powder selecting device is connected to a feeding port of a dust collector (6); and an air outlet and a discharging port of the dust collector are respectively connected to a fan (7) and a ball mill (9). Also provided is a method for grinding high-moisture (…).
(71) Nanjing Kisen International Engineering Co., Ltd., Jiangsu (CN)
