Sorting device
(22) 04.04.2018
(43) 06.01.2021
(57) [Object] To provide a fractionating device capable of stably fractionating powders such as cement raw materials by a simple configuration.
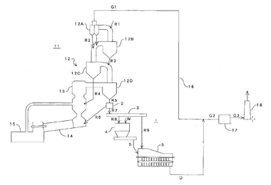
[Solution] A fractionating device 1 for fractionating some of a powder (cement raw material) R falling in a chute (main body) 2, wherein the fractionating device is equipped with a screw conveyor 5 which passes through the chute, a part of a casing 5a opening inside the chute, and receives part of the powder from an opening (inlet) 5b, and a collision separation member (collision separation rod) 4 which is provided above...
(22) 04.04.2018
(43) 06.01.2021
(57) [Object] To provide a fractionating device capable of stably fractionating powders such as cement raw materials by a simple configuration.
[Solution] A fractionating device 1 for fractionating some of a powder (cement raw material) R falling in a chute (main body) 2, wherein the fractionating device is equipped with a screw conveyor 5 which passes through the chute, a part of a casing 5a opening inside the chute, and receives part of the powder from an opening (inlet) 5b, and a collision separation member (collision separation rod) 4 which is provided above the screw conveyor in the chute and collides with an object when an object of a predetermined size or larger falls, and prevents the object from falling directly onto the screw conveyor. A rotation shaft 5d of the screw conveyor may be inclined from 5° to 20° with respect to the horizontal plane so that the end of the discharge port side of the screw conveyor is positioned above the other end and may be equipped with a guide member 3 that guides the powder falling in the chute in the direction of the opening of the screw conveyor.
(71) Taiheiyo Engineering Corporation, Tokyo (JP); Taiheiyo Cement Corporation, Tokyo (JP)
(84) Designated Contracting States: AL AT BE BG CH CY CZ DE DK EE ES Fl FR GB GR HR HU IE IS IT LI LT LU LV MC MK MT NL NO PL PT RO RS SE SI SK SM TR; Designated Extension States: BA ME; Designated Validation States: KH MA MD TN
