Despite the Coronavirus crisis, Cembureau has been working on compiling the new carbon neutrality roadmap, which was published on 12 May 2020. In this roadmap, the European Cement Association sets out ...
The Vietnam National Cement Corporation (VICEM), one of the leading cement producers in Vietnam, and FLSmidth, a global leader in sustainable technology, announced a cooperation to pioneer new...
The World Cement Association has announced that it is welcoming the Korea Cement Association (KCA) as an Affiliate Member of its international network.“KCA has a long history supporting the...
The World Cement Association has announced that it is welcoming the Cement Producers Association of Iraq (CPAI) as an Affiliate Member.CPAI counts among its members 12 of Iraq’s leading cement...
HeidelbergCement is advancing the development of innovative technologies to reduce CO2 emissions. After very good results from the first phase of the project, the company is starting the further...
Cemex has published its Integrated Report 2019: “Innovating for a Better World,” which includes a complete analysis of Cemex’s strategic vision, operational performance, corporate governance, and...
Cemex has announced changes to its senior level organization, effective March 27, 2020.Sergio Mauricio Menendez Medina, current President for Cemex in Europe, has been appointed President for Cemex...
The regional demand for cement in West Africa is growing steadily and local players are looking for reliable and economical solutions. The regional cement giant CIMCO, part of the CIM Metal Group, has...
Humboldt Wedag India Private Ltd., New Delhi/India, and Humboldt Wedag GmbH, Cologne/Germany, both being subsidiaries of KHD Humboldt Wedag International AG, Cologne, have signed contracts with ACC...
thyssenkrupp is to fit the first cement plant with a system for the production of calcined clay for the Dutch-based company Cimpor Global Holdings. The technology developed by thyssenkrupp lowers CO2...
Liuzhou I&S Co., Ltd., PR ChinaImpressive plant, impressive commissioning and impressive kiln performance of 3600 t burnt lime per day at highest efficiency – this is the largest realised Maerz lime...
Claudius Peters the plant machinery specialist based in Buxtehude, near Hamburg, Germany, announces the following new board appointments at its group headquarters. Frank Siefert joins the group as...
On 01.03.2020 Paulo Lima was appointed Managing Director of the Aumund Subsidiary in São Paulo/Brazil.Paulo Lima has had a successful career in mechanical engineering, in particular in conveying...
CO2 DataShare launched a web-based digital portal for sharing reference datasets from pioneering CO2 storage projects. The new portal will enable researchers and engineers to improve their...
Since autumn 2018, the Wietersdorfer Group’s Cement & Concrete business division with its 20 locations has been operating under the umbrella brand Alpacem. Dipl.-Ing. Lutz Weber (Managing Director ...
Operators of belt conveyor systems can prevent material losses by correcting the belt tracking. Flexco offers a number of belt trainers for this purpose, one of which is the PTEZ. It detects belt...
China’s Belt and Road Initiative, also referred to as the New Silk Road, is the most ambitious and probably the most interesting infrastructure project in the 21st century. This article will describe...
The application technology and process design and optimization were systematically researched based on the Shaanxi Beiyuan Group Cement Company. Issues existing in the plant were analyzed in detail, ...
An extensive modernization project has allowed a cement company in Texas to increase production, energy efficiency and availability – and improve plant safety. A project highlight: the introduction of...
Tough market conditions make it desirable for many cement producers to reduce the clinker factor and Supplementary Cementitious Materials (SCMs) such as fly ash. Activated clays can be a sustainable ...
Vibration diagnosis makes it possible to detect the smallest irregularities in gearboxes and rolling bearings at an early stage. These irregularities can include damage to rolling bearings, gears and...
(22) 04.08.2017(43) 20.02.2020(57) The invention pertains to a method for stabilizing stucco wherein – a fresh stucco is provided; – water is added to the fresh stucco to obtain moistened stucco, and...
(22) 17.10.2017(43) 27.02.2020(57) The present disclosure relates to improved methods for producing a cement composition. Disclosed herein are methods for producing a cement composition, comprising:...
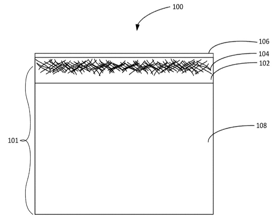
(22) 18.07.2018(43) 20.02.2020(57) Disclosed is a gypsum board comprising a set gypsum core disposed between two cover sheets, the core formed from a slurry comprising stucco, water, and at least one...
(22) 25.10.2017(43) 20.02.2020(57) A method of making a cement composition, comprising grinding a cement clinker and a strength-enhancing agent, thereby producing a hydraulic cementitious powder,...
(22) 25.10.2017(43) 12.03.2020(57) Gypsum panels and methods of making the same are provided. A method of making a gypsum panel includes forming a first gypsum slurry by combining stucco, water, a...
(22) 04.06.2018(43) 12.03.2020(57) The present invention relates to a composite cement obtainable by grinding Portland cement clinker and latent hydraulic material together, preferably in the presence...
(22) 18.09.2018(43) 20.02.2020(57) A combined cement grinding system applicable to high-moisture materials. A coarse material discharging port of a powder selecting device (4) and a discharging end of...
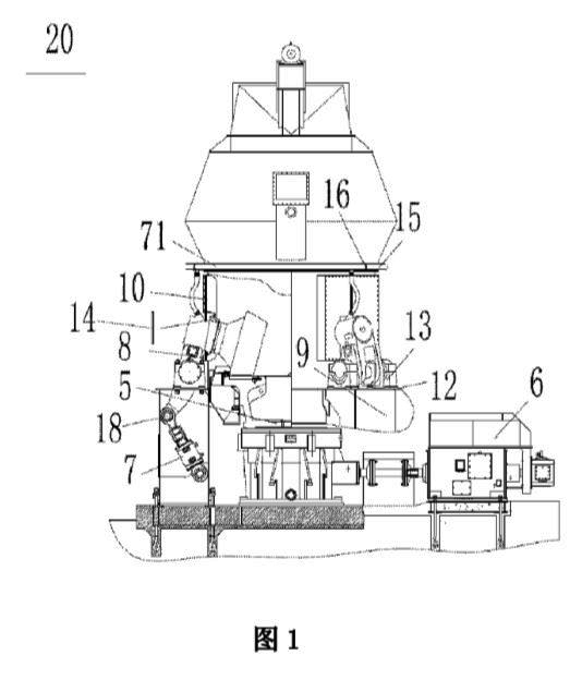
(22) 31.08.2018(43) 05.03.2020(57) A multi-roller vertical cement roller mill (20) having alternately standby grinding rollers, being used for milling materials, and comprising: a grinding disk (5)...
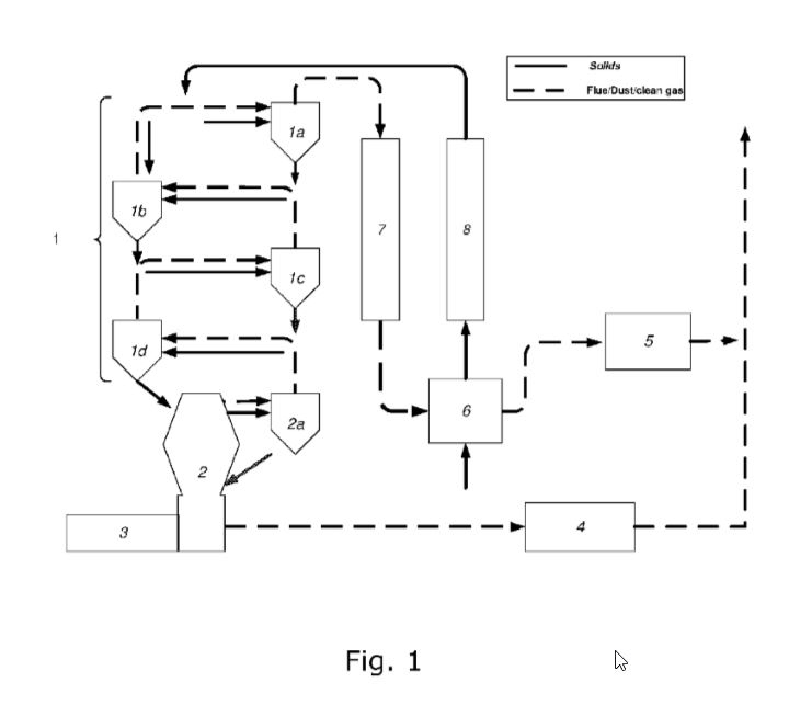
(22) 29.08.2019(43) 05.03.2020(57) The invention relates to a method for reduction of HC1 emission from a cement plant based on a treatment of a preheater (1) and/or bypass gas stream, characterized...
An estimated 7% of the U.S. fatalities recorded by MSHA between 1995 and 2011 occurred in a confined space. To reduce that number, conveyor operators are wise to understand exactly how a confined...
After we have brought our entire society to almost a complete standstill a good two months ago, many are now pushing for the shutdown to be lifted again. Conspiracy theories are also booming and ...
The global specialist in innovative comminution solutions, Gebr. Pfeiffer SE based in Kaiserslautern/Germany, sees itself as a forerunner in vertical mill technology. With mill drives over 10000 kW,...
Mathias Dülfer, Chairman of the Executive Board of Gebr. Pfeiffer SE, informed us in a five-question interview about the company‘s responses to current issues in the cement industry.
The generation of Covid-19 health care wastes rose by 600% in Wuhan in the middle of the Corona outbreak and there was an urgent need for extra disposal capacity. Huaxin cement reached out and made ...