Cement kiln system and method for preparing cement clinker
(22) 12.11.2020
(43) 19.05.2022
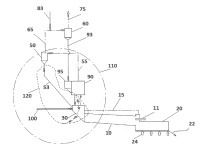
(57) A cement kiln system and method, the system comprising a smoke chamber (1), a rotary kiln (2), a cooling machine (3), a first raw material pre-heating pre-decomposition system, and a second raw material pre-heating pre-decomposition system, the smoke chamber (1), the rotary kiln (2), and the cooling machine (3) being in communication sequentially, the first raw material pre-heating pre-decomposition system and the second raw material pre-heating pre-decomposition system respectively being in communication with the smoke chamber (1), and a feeding...
(22) 12.11.2020
(43) 19.05.2022
(57) A cement kiln system and method, the system comprising a smoke chamber (1), a rotary kiln (2), a cooling machine (3), a first raw material pre-heating pre-decomposition system, and a second raw material pre-heating pre-decomposition system, the smoke chamber (1), the rotary kiln (2), and the cooling machine (3) being in communication sequentially, the first raw material pre-heating pre-decomposition system and the second raw material pre-heating pre-decomposition system respectively being in communication with the smoke chamber (1), and a feeding pipe of a top cyclone separator of the second raw material pre-heating pre-decomposition system being in communication with a feeding port of a top cyclone separator of the first raw material pre-heating pre-decomposition system. The present invention solves the technical problems in existing cement kiln systems of the CO2 purification operation flow being complex due to the low concentration of CO2, and the SO2 content in the flue gas entering the CO2 purification system being high due to the use of inferior raw materials, such that the CO) purification system requires desulphurisation treatment of the flue gas, greatly increasing the investment costs and miming costs of the CO2 purification system.
(71) Tianjin Cement Industry Design & Research Institute Co., Ltd., Tianjin 300400 (CN)
(84) ARIPO (BW, GIL, GM, KE, LR, LS, MW, MZ, NA, RW, SD, SL, ST, SZ, TZ, UG, ZM, ZW), Eurasian (AM, AZ, BY, KG, KZ, RU, TJ, TM), European (AL, AT, BE, BG, CH, CY, CZ, DE, DK, EE, ES, FT, FR, GB, GR, HR, HU, IE, IS, IT, LT, LU, LV, MC, MK, MT, NL, NO, PL, PT, RO, RS, SE, SI, SK, SM, TR), OAPI (BF, BJ, CF, CG, CI, CM, GA, GN, GQ, GW, KM, ML, MR, NE. SN, TD, TG)
