Process and plant for cement clinker production
(22) 18.06.2013
(43) 25.12.2013
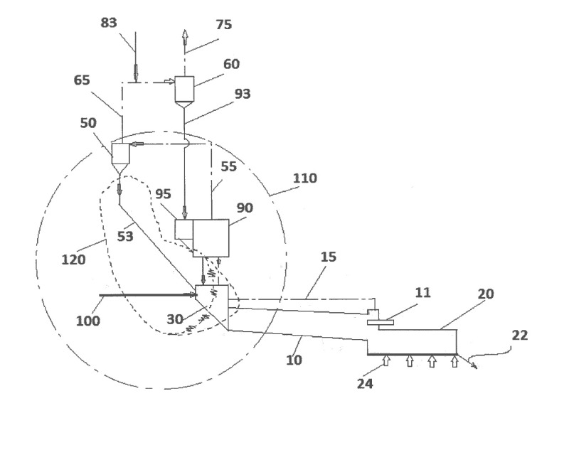
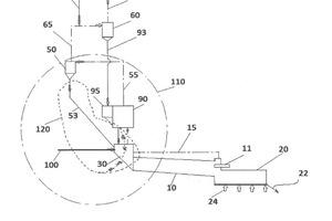
(57) Plant and process for cement clinker production including a raw meal preheating step performed in a pre-heating zone, a calcination step in which the raw meal is brought to a temperature of approx. 800-850 °C leading to substantial decomposition of the mineral constituents of the raw meal into their oxides, and a sintering step in which the load is brought to a temperature of 1300 to 1450 °C to form Ca2SiO4 (or (Ca0)2∙ Si02), to further de-compose calcium carbonate and partially melt the load to form Ca3.Si05 (or (Ca0)3∙ Si02) in a rotary kiln (10), followed...
(22) 18.06.2013
(43) 25.12.2013
(57) Plant and process for cement clinker production including a raw meal preheating step performed in a pre-heating zone, a calcination step in which the raw meal is brought to a temperature of approx. 800-850 °C leading to substantial decomposition of the mineral constituents of the raw meal into their oxides, and a sintering step in which the load is brought to a temperature of 1300 to 1450 °C to form Ca2SiO4 (or (Ca0)2∙ Si02), to further de-compose calcium carbonate and partially melt the load to form Ca3.Si05 (or (Ca0)3∙ Si02) in a rotary kiln (10), followed by cooling of the resulting clinker in a clinker cooling zone (20), and optionally by a clinker milling step in a clinker milling zone, wherein untreated oil sludge is supplied (100) into an injection zone (120) part of the calcination zone (110), operated at a material temperature of approx. 800-850 °C, said injection zone comprising the bottom discharge of the lowest cyclone stages and/or of the precalciner, if appropriate, the feed-in slope of the rotary kiln and the gas phase over the mineral bed at the material inlet end of the rotary kiln, as far as that kiln end is part of the calcination zone.
(71) Carbon-Hydrogen-Minerals SPRL, 4610 Vise (Argenteau) (BE)
(84) Designated Contracting States: AL AT BE BG CH CY CZ DE DK EE ES Fl FR GB GR HR HU IE IS IT LI LT LU LV MC MK MT NL NO PL PT RO RS SE SI SK SM TR Designated Extension States: BA ME
