Low-carbon production method and system for cement clinker
(22) 03.03.2023
(43) 19.06.2025
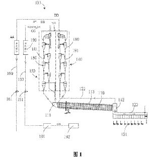
(57) A low-carbon production method and production system for cement clinker. The production method comprises calcining a metal oxide, which is obtained by converting carbonate in a raw material by means of a methane dry reforming reaction, to form cement clinker, and meanwhile obtaining synthesis gas. The production system uses a reformer furnace for methane dry reforming of carbonate to replace a carbonate decomposition furnace in an existing cement production system.
(71) East China University Of Science And Technology, Shanghai (CN)
(22) 03.03.2023
(43) 19.06.2025
(57) A low-carbon production method and production system for cement clinker. The production method comprises calcining a metal oxide, which is obtained by converting carbonate in a raw material by means of a methane dry reforming reaction, to form cement clinker, and meanwhile obtaining synthesis gas. The production system uses a reformer furnace for methane dry reforming of carbonate to replace a carbonate decomposition furnace in an existing cement production system.
(71) East China University Of Science And Technology, Shanghai (CN)
