A PFR lime kiln provided with a NOx abatement system
(22) 15.12.2023
(43) 20.06.2024
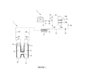
(57) The present disclosure relates to a PFR lime kiln, comprising at least two vertical shafts each comprising a burner arranged for combustion of limestone, producing exhaust gas comprising dust and nitrogen oxides (NOx), a dust treatment system to reduce the dust present in the exhaust gas, an SCR system situated downstream the dust treatment system and being arranged to reduce the NOx in the exhaust gas, comprising a low temperature catalyst which is arranged to operate at a temperature of between 150 °C and 160 °C, and at least one injection lance which is...
(22) 15.12.2023
(43) 20.06.2024
(57) The present disclosure relates to a PFR lime kiln, comprising at least two vertical shafts each comprising a burner arranged for combustion of limestone, producing exhaust gas comprising dust and nitrogen oxides (NOx), a dust treatment system to reduce the dust present in the exhaust gas, an SCR system situated downstream the dust treatment system and being arranged to reduce the NOx in the exhaust gas, comprising a low temperature catalyst which is arranged to operate at a temperature of between 150 °C and 160 °C, and at least one injection lance which is placed in a duct which is situated between the dust treatment system and the catalyst and which is arranged to inject reducing agent in the exhaust gas present in the duct. The present disclosure further relates to a method for reducing NOx in exhaust gas produced during the combustion of limestone in such a PFR lime kiln.
(71) YARA INTERNATIONAL ASA, 0277 Oslo (NO), FASSA S.R.L. (IT), 31027 Spresiano (IT)
