Dear readers, A lot of facts and figures come at us, not least in the daily report of the “Tagesschau”, a German news program. But what do the figures tell us, how can we interpret them? Do the ...
At the end of 2020, Loesche received the order to supply a raw material grinding plant to the Lafarge cement plant Mannersdorf in Austria. Lafarge Zementwerke GmbH is a company of LafargeHolcim, one...
The global Corona crisis has also led to high export losses for machinery and plant manufacturers. In 2020, machinery and equipment worth € 160 billion were exported from Germany and imported...
German consulting company MVW Lechtenberg & Partner has been appointed to act as owner’s engineers for a new mechanical and biological treatment plant (MBT) which will be errected at the Shafdan ...
In August 2020, Enerco – Energy Recovery Ltd, associated company of Vassiliko Cement Works, commissioned a Lindner shredder from the Polaris series to shred high-calorific refuse derived fuels ...
The World Cement Association has launched the Gender Focus Network, an initiative aiming to improve the representation of women within the global cement community. WCA recognises that the cement...
Cemex has announced that Rüdiger Kuhn has been appointed as the Representative of the Economy on the newly formed Sustainability Advisory Board for the Federal State of Brandenburg, Germany....
Cemex has announced its participation in the Low Emissions Intensity Lime and Cement 2 (LEILAC 2) project, a research and innovation initiative aimed to decarbonize the cement production process.The...
Cemex has announced it is optimizing its supply chain to meet shortages experienced throughout the western US. The optimization includes a kiln’s recommissioning at a cement plant in northwest Mexico....
LafargeHolcim joins the MIT Climate and Sustainability Consortium (MCSC) as a founding member, representing the building materials industry, to accelerate climate action through innovation. The...
LafargeHolcim and Schlumberger New Energy will explore the development of Carbon Capture and Storage (CCS) solutions. The two companies will study the feasibility of capturing carbon from two...
A reliable supply of resources is essential for the German economy. For many years, industrial by-products from copper, ferrochrome and lead production and from the extraction of waelz oxide have made...
Sika has agreed to acquire Kreps LLC, a leading mortar manufacturer in Russia. The company offers a wide range of mortar products for interior and exterior finishing, complementing the existing...
After very good results from the first project phase, HeidelbergCement is starting the further development and scaling-up of the LEILAC technology (Low Emissions Intensity Lime And Cement) together...
HeidelbergCement has successfully sold its majority stake of 51% in the Kuwaiti cement and ready-mixed concrete company Hilal Cement to Silver Share Real Estate. The parties agreed not to disclose the...
FLSmidth will deliver a grey-to-white cement line conversation to the Turkish cement producer, Çimko Çimento. The project is based on FLSmidth’s unique competences within process design and includes...
As one of the largest cement plant operators in India and one of the top 10 in the world, UltraTech Cement Ltd of Mumbai/India is looking ahead. In connection with the realisation of three new clinker...
LafargeHolcim Poland has ordered a vertical roller mill for cement raw material grinding from Gebr. Pfeiffer for its plant in Malogoszcz, approximately 200 km south of the capital Warsaw.The mill will...
Continental strategically sharpens its profile as a provider of service and complete conveying solutions and therefore unifies its portfolio under the Continental brand. In the future, all products,...
Since the beginning of this year, Alexander Tigges has been Head of Sales at the Center of Competence (CoC) for Conveying & Loading Systems (CL Systems). The 51-year-old mechanical engineer can draw...
The Turkish Cement Manufacturers Association (TÇMB) will continue to work under the new brand TürkÇimento. Promoting the change of its identity and logo at an online launching meeting, the association...
The EU Parliament’s own-initiative report, adopted on February 9, 2021, calls for an upgrading of secondary raw materials. Among other things, it provides for stronger ecologically oriented public...
Jura-Cement-Fabriken AG in Wildegg/Switzerland uses the country’s first regenerative thermal oxidation system (RTO) as the main stage in its air pollution control system. This upgrade enables the...
thomas zement GmbH & Co. KG is an important business segment of the thomas gruppe: Customized cements in reliable product and delivery quality are produced for the customer. The thomas gruppe is a...
The trade show duo Solids and Recycling-Technik provides an important information platform to get bulk solids technology on track for a sustainable and digital future.
HeidelbergCement AG modernised its plant in Burglengenfeld with the aim of significant emissions reductions and to continuously increase the proportion of alternative fuels as well as ensuring...
An annular shaft kiln at the Unicalce Lecco/Italy site was upgraded with six side burners. Prior to the retrofit, biomass feeding to the combustion chambers was limited due to high combustion...
Cooler conversions always bring specific challenges with them: limited footprint, limited budget, required speed of execution. A lot of coolers built in the late eighties and nineties, generally...
Beumer sales manager Kay Wieczorek is sure: In the coming years, there will be a lot of changes in the cement industry. Covid-19 makes personal interaction with customers nearly impossible during...
For sorting of the mineral constituents and for the plastics, too, new approaches must be adopted. OptoSort GmbH, a company specializing in sorting rock, offers its developments as new solutions for...
Gypsum-based materials count as green building materials and have therefore been widely used in the decoration of structures. Due to the rise of rapid prototyping technology the inorganic non-metallic...
This article examines not only the influence of hydromechanical activation of cement in the presence of superplasticizers on the retention of flowability and the water gain of concrete but also the...
Calcium sulfate flowing screeds are enjoying increasing popularity. With an overall positive growth in the floor screed mortar market in 2019 with a gain of 2% compared with 2018 the growth rate of...
Conveyor systems are the lifeblood of a wide range of bulk material handling operations, including mining, coal and ore processing, aggregate and cement manufacturing. Modern systems are being tasked...
(22) 04.04.2018(43) 06.01.2021(57) [Object] To provide a fractionating device capable of stably fractionating powders such as cement raw materials by a simple configuration. [Solution] A fractionating...
(22) 12.03.2019(43) 06.01.2021(57) [Object] To treat organic sludge while keeping facility costs, cement production efficiency, and a reduction in clinker production amount to a minimum. [Solution] An...
(22) 08.06.2020(43) 17.12.2020(57) The present invention is directed to a construction chemical composition for the preparation of gypsum articles, said construction chemical composition comprising...
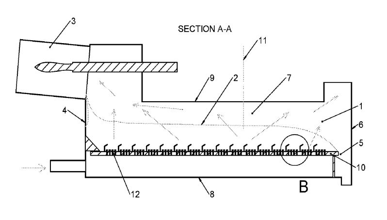
(22) 22.02.2019(43) 07.01.2021(57) The present invention relates to a cooler for cooling particulate material which has been subjected to heat treatment in an industrial kiln, such as a rotary kiln...
(22) 28.06.2020(43) 07.01.2021(57) In the present utility application, a flue gas treatment apparatus for treating CO, dioxin and white smoke plume is disclosed. The flue gas treatment apparatus...
When I think of “Industry 4.0” the first thing that comes to mind is a picture of futuristic schemes, displaying neurons connecting swiftly to form new sparks and magic, all kept in a clear blue ...
The species diversity in a quarry is often significantly higher after the end of excavation work than before it began. This is the result of decades of experience and the previous data of the ...