Content

Editorial

Transformation(s)

Dear readers, it was an excellent event and a great reunion with many old acquaintances, start-ups and new contacts, the 9th International VDZ Congress from November 6-8 in Düsseldorf.

more

Spotlight

WIETERSDORFER

New paths for the Wietersdorfer Group

The Wietersdorfer Group is breaking new ground. Previously active in the construction industry with its five business divisions, it is now taking its first step towards the semiconductor industry: the internationally active family business is acquiring a 60% stake in Sico Technology .

more
HOLCIM

Holcim announces leadership appointments

Jaime Hill, Country CEO of Mexico, is appointed Region Head North America effective immediately. He succeeds Toufic Tabbara, who has decided to pursue opportunities outside of Holcim.

more

Events

EUROSLAG

Euroslag conference in Bilbao on the future of iron and steel slags

The transformation of the steel industry to largely low-CO2 manufacturing processes also has a massive impact on the by-product ferrous slag. The 12th Euroslag conference in Bilbao from October 23 to 25, 2024, focused on the challenges facing science and industry and the solutions already available today.

more

Interview

SCHWAB ALL ABOUT LIME GMBH

“Schwab - The Next Generation”

On July 18th and 19th of this year, Schwab invited guests to the official company handover at the Dannenfels site. All under the motto “Schwab - The Next Generation”.

more

Markets and Trends

ONESTONE CONSULTING LTD.

Cement Market Special: India

India aims to be the world’s third largest economy by 2030. Her cement industry is booming as never before. The main question is how long will this situation last. In the following market review a deep insight into India’s cement industry, the major producers and the challenges ahead are given. Investments, capacity expansions and decarbonisation efforts are described.

more

Materials

Patents

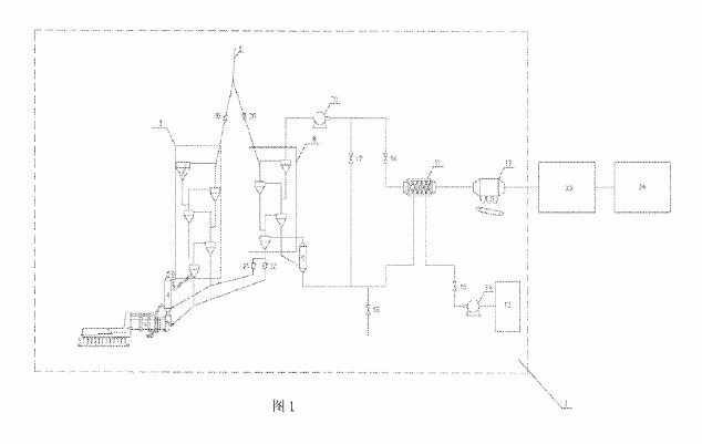
US 2024/0308905 A1

Method and device for producing cement clinker

(22) 23.05.2022(43) 19.09.2024(57) A process for producing cement clinker (50) including preheating raw material in a preheater, calcining the pre-heated raw material in a calciner, burning the...

more
US 2024/0294390 A1

Agent for the stabilisation of lime milk

(22) 27.06.2022(43) 05.09.2024(57) An agent for stabilizing lime milk may combine a specific polymer and one or more osidic, polyol, or acid derivatives. Methods may preparing the agent or prepare...

more
WO 2024/182825 A1

Cement composition

(22) 28.02.2024(43) 06.09.2024(57) The invention provides for the use of a brittle silica containing particulate material sand substitute selected from the group including vortex-processed glass fines...

more
WO 2024/183613 A1

Integrated system for cement process

(22) 29.02.2024(43) 12.09.2024(57) The present invention relates to an integrated system for a cement process, the system comprising a solid oxide electrolysis cell, a first waste heat recovery and...

more
WO 2024/186261 A1

Method for flame control in a rotary lime kiln

(22) 11.03.2024(43) 12.09.2024(57) A rotary lime kiln (1) comprising a tubular lime kiln body (2) having a first end (3) comprising a burner (5) and a second el end (4) adapted to receive lime to be...

more
WO 2024/188710 A1

Cement additive made from old concrete

(22) 05.03.2024(43) 19.09.2024(57) The present invention relates to a method for treating mineral material such as old concrete, old hardened cement paste el and the like, wherein the mineral material...

more
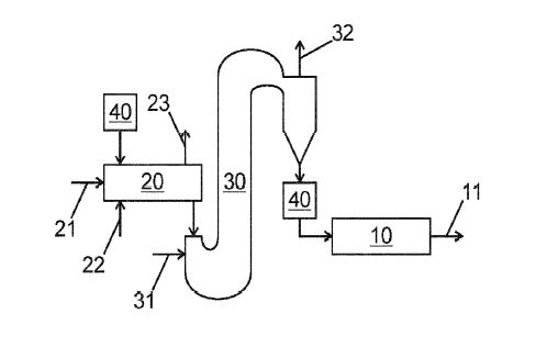
WO 2024/193995 A1

Clinker cooler with gas partition wall

(22) 04.03.2024(43) 26.09.2024(57) The invention relates to a clinker cooler (100) for cooling freshly sintered cement clinker (101) M a system for producing cement clinker, having a first part (110),...

more

Column

Can it get any worse?

The European Union’s Climate Change Service Copernicus announces 2024 to be the warmest year in history, even warmer than 2023 which held this dire record so far. The CO2 emissions have still...

more

Associations

European Mortar Summit 2025

A platform, to exchange ideas

The European Mortar Summit is the gathering of the manufacturers of mortars, plaster & renders, adhesives, screeds and ETICS to exchange views on topical subjects and future trends. It will be...

more

Green Challenge

RIGIPS

Plaster is recyclable - infinitely often and in consistently high quality

Until recently, however, the majority of gypsum waste ended up in landfill. The amended Landfill Ordinance put a stop to this at the beginning of 2024. Since then, used gypsum must be processed and returned to the material cycle. With EASY ECO, Rigips has launched an initiative that makes sustainable construction even simpler and more transparent with economical and climate-friendly system solutions.

more