System for the production of fine lime
(22) 27.11.2013
(43) 22.09.2016
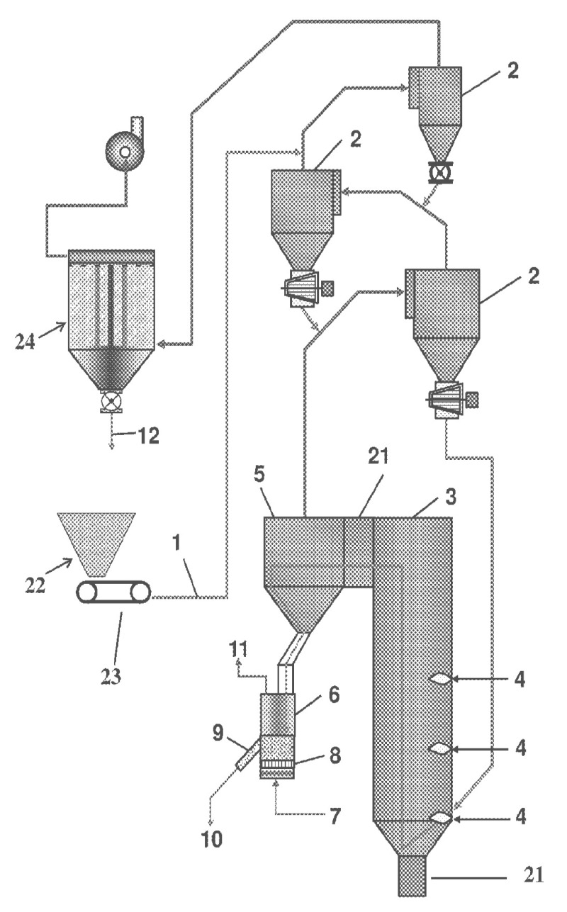
(57) The present invention is directed to a method of continuously calcining a limestone particle mix comprising a fine fraction of limestone particles and a coarser fraction of limestone particles. The limestone particles heat treated in a flash calciner in which the mixture is entrained and heated in process gas for an amount of time sufficient to fully calcine the fine fraction but not the coarser fraction. The process gas is separated from the heated limestone mixture. The mixture is directed to a retention vessel in which the mixture is retained for an amount...
(22) 27.11.2013
(43) 22.09.2016
(57) The present invention is directed to a method of continuously calcining a limestone particle mix comprising a fine fraction of limestone particles and a coarser fraction of limestone particles. The limestone particles heat treated in a flash calciner in which the mixture is entrained and heated in process gas for an amount of time sufficient to fully calcine the fine fraction but not the coarser fraction. The process gas is separated from the heated limestone mixture. The mixture is directed to a retention vessel in which the mixture is retained for an amount of time sufficient to fully calcine the coarser fraction utilizing the process heat present in the limestone mixture. No external heat needs to be added to the retention vessel during the retention step to promote calcination.
(71) Michael Prokesch, Coopersburg, PA (US); FLSmidth A/S, Valby (DK)
