Plant and method for generating negative emissions of CO2
(22) 19.01.2018
(43) 26.07.2018
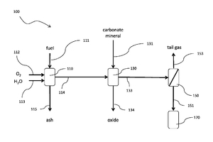
(57) The invention relates to a plant for generating negative emissions of CO2. The plant 100 comprises a gasifier 110, a lime kiln 130, a separator 150, and a CO2 permanent storage 170. The gasifier is suitable for receiving as input a fuel 111 and for producing as output a high-temperature syngas flow 114. The lime kiln is suitable for receiving as input carbonate mineral 131 and the high-temperature syngas flow, the lime kiln being further suitable for producing an oxide 134 and for releasing as output a flow of syngas 133 enriched with CO2. The separator is...
(22) 19.01.2018
(43) 26.07.2018
(57) The invention relates to a plant for generating negative emissions of CO2. The plant 100 comprises a gasifier 110, a lime kiln 130, a separator 150, and a CO2 permanent storage 170. The gasifier is suitable for receiving as input a fuel 111 and for producing as output a high-temperature syngas flow 114. The lime kiln is suitable for receiving as input carbonate mineral 131 and the high-temperature syngas flow, the lime kiln being further suitable for producing an oxide 134 and for releasing as output a flow of syngas 133 enriched with CO2. The separator is suitable for receiving as input a gas flow containing CO2 and for treating it so as to separately provide at least CO2 151. The CO2 permanent storage is suitable for enclosing along time the CO2. The invention also relates to a method for generating negative emissions of CO2.
(71) Cappello, Giovanni, 23851 Galbiate (Lecco) (IT); Ross Morrey, Dennis Alexander, Germantown, Maryland 20874 (US)
