Mixer and mixing method
(22) 26.08.2015
(43) 02.03.2017
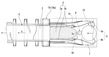
(57) The present invention makes it possible for gypsum slurry to be uniformly and sufficiently kneaded in a kneading area of a scraper type mixer. This mixer has a circular housing (20) forming a kneading area (10a) in which gypsum slurry is to be kneaded, a rotating disc (32) arranged inside the housing and rotating in a prescribed rotating direction, a rotating drive shaft (30) integrally connected to the rotating disc, a plurality of scrapers (50) arranged in the kneading area, and a slurry discharging port (40) disposed in a circular ring wall (23) of the...
(22) 26.08.2015
(43) 02.03.2017
(57) The present invention makes it possible for gypsum slurry to be uniformly and sufficiently kneaded in a kneading area of a scraper type mixer. This mixer has a circular housing (20) forming a kneading area (10a) in which gypsum slurry is to be kneaded, a rotating disc (32) arranged inside the housing and rotating in a prescribed rotating direction, a rotating drive shaft (30) integrally connected to the rotating disc, a plurality of scrapers (50) arranged in the kneading area, and a slurry discharging port (40) disposed in a circular ring wall (23) of the housing to supply the gypsum slurry in the kneading area onto a base paper (1) for a gypsum board. The opening of the slurry discharging port is divided into a plurality of narrow openings (48, 48‘), thereby increasing the flow resistance of the gypsum slurry flowing out from the kneading area. An annular base (70) which rotates integrally with the rotating disc is arranged concentrically with the center of rotation (10b) of the rotating disc, in the kneading area, and inner ends of the scrapers are fixed to the annular base. The scrapers are bent or curved backward in the rotating direction of the rotating disc.
(71) Yoshino Gypsum Co., Ltd., Tokyo (JP)
(84) ARIPO (BW, GH, GM, KE, LR, LS, MW, MZ, NA, RW, SD, SL, ST, SZ, TZ, UG, ZM, ZW), Eurasian (AM, AZ, BY, KG, KZ, RU, TJ, TM), European (AL, AT, BE, BG, CH, CY, CZ, DE, DK, EE, ES, FI, FR, GB, GR, HR, HU, IE, IS, IT, LT, LU, LV, MC, MK, MT, NL, NO, PL, PT, RO, RS, SE, SI, SK, SM, TR), OAPI (BF, BJ, CF, CG, CI, CM, GA, GN, GQ, GW, KM, ML, MR, NE, SN, TD, TG)
