Method for producing a low-carbon clinker
(22) 10.03.2016
(43) 22.09.2016
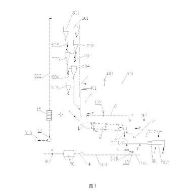
(57) Method for producing a low-carbon clinker with low energy consumption comprising the following stages: pre-calcination of the limestone present in the raw material, along the pre-calciner and in the cyclone tower; start of the clinkering process with the raw material inlet after pre-calcination, at a temperature higher than 1400 °C. and with a C3 S content above 60 %; cooling the material, and finally introduction of 5 to 30 % of silico-aluminous materials relative to the mass of material which is here processed in the cooling stage, at the cooler head.
(71)...
(22) 10.03.2016
(43) 22.09.2016
(57) Method for producing a low-carbon clinker with low energy consumption comprising the following stages: pre-calcination of the limestone present in the raw material, along the pre-calciner and in the cyclone tower; start of the clinkering process with the raw material inlet after pre-calcination, at a temperature higher than 1400 °C. and with a C3 S content above 60 %; cooling the material, and finally introduction of 5 to 30 % of silico-aluminous materials relative to the mass of material which is here processed in the cooling stage, at the cooler head.
(71) Secil - Companhia Geral de Cal e Cimento, S.A., Lisboa (PT)
