Method for manufacturing composite cement
(22) 03.11.2021
(43) 27.05.2022
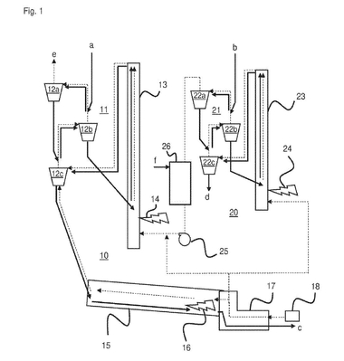
(57) Method for manufacturing a composite cement comprising a cement and calcined clay, comprising the steps of providing the cement, providing calcined clay by grinding a material comprising clay compounds and at least one of quartz and/or feldspar, separating the clay compounds from quartz and/or feldspar by classification and calcination of the clay compounds to provide the calcined clay, and mixing the cement with the calcined clay to provide the composite cement.
(71) (for all designated States except US): HeidelbergCement AG, Berliner Str. 6, 69120...
(22) 03.11.2021
(43) 27.05.2022
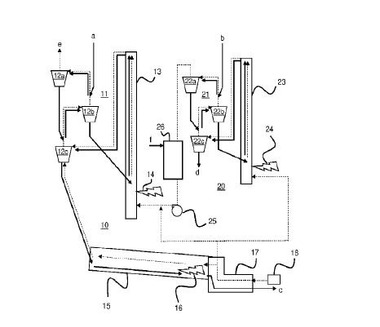
(57) Method for manufacturing a composite cement comprising a cement and calcined clay, comprising the steps of providing the cement, providing calcined clay by grinding a material comprising clay compounds and at least one of quartz and/or feldspar, separating the clay compounds from quartz and/or feldspar by classification and calcination of the clay compounds to provide the calcined clay, and mixing the cement with the calcined clay to provide the composite cement.
(71) (for all designated States except US): HeidelbergCement AG, Berliner Str. 6, 69120 Heidelberg (DE)
(71) (for US only): HConnect 2 GmbH, Berliner Strasse 6, 69120 Heidelberg (DE)
(84) ARIPO (BW, GIL, GM, KE, LR, LS, MW, MZ, NA, RW, SD, SL, ST, SZ, TZ, UG, ZM, ZW), Eurasian (AM, AZ, BY, KG, KZ, RU, TJ, TM), European (AL, AT, BE, BG, CH, CY, CZ, DE, DK, EE, ES, FT, FR, GB, GR, HR, HU, IE, IS, IT, LT, LU, LV, MC, MK, MT, NL, NO, PL, PT, RO, RS, SE, SI, SK, SM, TR), OAPI (BF, BJ, CF, CG, CI, CM, GA, GN, GQ, GW, KM, ML, MR, NE. SN, TD, TG)
