Method and plant for the production of cement
(22) 03.03.2017
(43) 09.11.2017
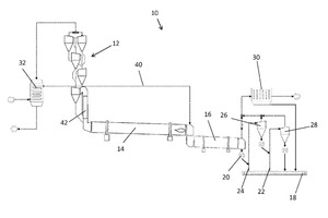
(57) The present invention relates to a method for producing cement, in particular white cement, comprising at least the following steps: thermal treatment of material in a furnace (14) and cooling the material in an inert atmosphere in a cooling device (16), wherein the material, after the inert cooling, is classified in a classifying device (22, 24) into at least two grain sizes, coarse material and fine material. The invention further relates to a plant for producing cement, in particular white cement, comprising a furnace (14) for the thermal treatment of a...
(22) 03.03.2017
(43) 09.11.2017
(57) The present invention relates to a method for producing cement, in particular white cement, comprising at least the following steps: thermal treatment of material in a furnace (14) and cooling the material in an inert atmosphere in a cooling device (16), wherein the material, after the inert cooling, is classified in a classifying device (22, 24) into at least two grain sizes, coarse material and fine material. The invention further relates to a plant for producing cement, in particular white cement, comprising a furnace (14) for the thermal treatment of a material and an inert cooling device (16). which is mounted downstream of the furnace (14) in the direction of flow of the material, for cooling the material in an inert atmosphere, wherein a classifying device (22, 24) is connected downstream of the cooling device (16) for classifying the material into at least two grain sizes, coarse material and fine material.
(71) thyssenkrupp Industrial Solutions AG, ThyssenKrupp Allee 1, 45143 Essen (DE); thyssenkrupp AG, ThyssenKrupp Allee 1, 45143 Essen (DE)
