Limestone/lime hydrate flue-gas cleaning installation having a clean-gas bypass channel and a sump expansion system
(22) 05.07.2016
(43) 02.02.2017
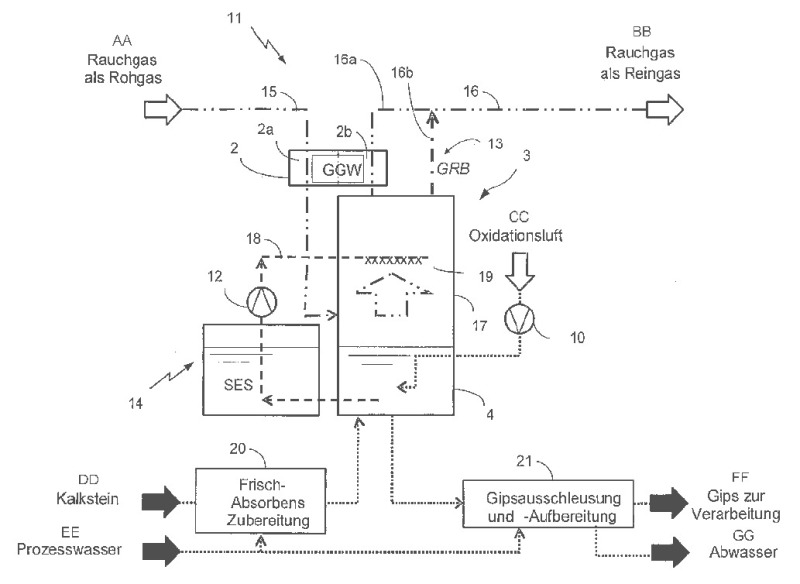
(57) The invention relates to a flue-gas desulfurization installation (REA), which has a scrubber having a distribution device for distributing an absorbent into the flue-gas flow flowing through the scrubber and a scrubber sump arranged on the bottom of the scrubber, wherein the following is provided for the use of limestone or lime hydrate as an absorbent: at least one clean-gas bypass channel is associated with a heat transfer device for transferring heat from the flue-gas flow flowing into the scrubber to the clean-gas flow exiting the scrubber and/or a sump...
(22) 05.07.2016
(43) 02.02.2017
(57) The invention relates to a flue-gas desulfurization installation (REA), which has a scrubber having a distribution device for distributing an absorbent into the flue-gas flow flowing through the scrubber and a scrubber sump arranged on the bottom of the scrubber, wherein the following is provided for the use of limestone or lime hydrate as an absorbent: at least one clean-gas bypass channel is associated with a heat transfer device for transferring heat from the flue-gas flow flowing into the scrubber to the clean-gas flow exiting the scrubber and/or a sump expansion system for enlarging the sump volume is associated with the scrubber sump, wherein oxidation air can be supplied to the scrubber sump and/or the sump expansion system and scrubbing suspension from the scrubber sump and/or the sump expansion system can be supplied in the circulation of the distribution device.
(71) Steinmüller Babcock Environment GmbH, Fabrikstraße 1, 51643 Gummersbach (DE)
(84) ARIPO (BW, GH, GM, KE, LR, LS, MW, MZ, NA, RW, SD, SL, ST, SZ, TZ, UG, ZM, ZW), Eurasian (AM, AZ, BY, KG, KZ, RU, TJ, TM), European (AL, AT, BE, BG, CH, CY, CZ, DE, DK, EE, ES, FI, FR, GB, GR, HR, HU, IE, IS, IT, LT, LU, LV, MC, MK, MT, NL, NO, PL, PT, RO, RS, SE, SI, SK, SM, TR), OAPI (BF, BJ, CF, CG, CI, CM, GA, GN, GQ, GW, KM, ML, MR, NE, SN, TD, TG)
