Dust collection apparatus for loader
(22) 06.11.2015
(43) 02.02.2017
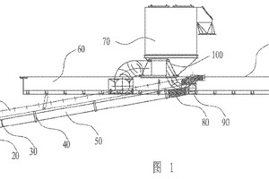
(57) A dust collection apparatus for a loader is adapted to be installed on a body of a loader. The apparatus comprises: a dust collection cover (20) arranged on a body of a loader, a connection pipe (50) connected to the dust collection cover (20), a wind converging tube (90) arranged on the body of the loader, the connection pipe (50) being connected to the wind converging tube (90) through a hose (80), a mobile sealed case (100) connected to the wind converging tube (90), a dust collection bellow (60) in communication connection with the mobile sealed case...
(22) 06.11.2015
(43) 02.02.2017
(57) A dust collection apparatus for a loader is adapted to be installed on a body of a loader. The apparatus comprises: a dust collection cover (20) arranged on a body of a loader, a connection pipe (50) connected to the dust collection cover (20), a wind converging tube (90) arranged on the body of the loader, the connection pipe (50) being connected to the wind converging tube (90) through a hose (80), a mobile sealed case (100) connected to the wind converging tube (90), a dust collection bellow (60) in communication connection with the mobile sealed case (100), and a dust collector (70) connected to the dust collection bellow (60). By means of the dust collection apparatus, a negative pressure is provided by using a dust collector, and effective control on dust concentration during loading is implemented by using a dust collection cover, a connection pipe, a hose, a wind converging tube, a mobile sealed case, and a dust collection bellow, so that dust concentration when cement bags are loaded is reduced, environment protection and safety and health prevention requirements are met, work environment quality is improved, and the harm of dust to workers is alleviated.
(71) Jiangsu Green Leaves Machinery Co., Ltd., Jiangsu 226682 (CN)
(84) ARIPO (BW, GH, GM, KE, LR, LS, MW, MZ, NA, RW, SD, SL, ST, SZ, TZ, UG, ZM, ZW), Eurasian (AM, AZ, BY, KG, KZ, RU, TJ, TM), European (AL, AT, BE, BG, CH, CY, CZ, DE, DK, EE, ES, FI, FR, GB, GR, HR, HU, IE, IS, IT, LT, LU, LV, MC, MK, MT, NL, NO, PL, PT, RO, RS, SE, SI, SK, SM, TR), OAPI (BF, BJ, CF, CG, CI, CM, GA, GN, GQ, GW, KM, ML, MR, NE, SN, TD, TG)
