Control of volatiles in cement clinker manufacturing processes (cold bypass)
(22) 30.09.2020
(43) 31.03.2022
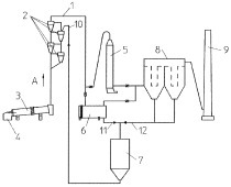
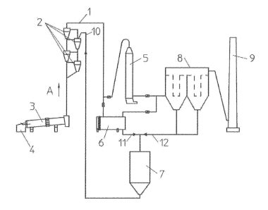
(57) Reduction of volatile emission during direct progress in cement clinker manufacturing processes, by removing or purging the volatile contents in gaseous currents (excess of the heat exchange tower that is not needed in the mills crude in the case of existing 2 crude mills) or adsorbed in solid currents (CKD of the heated line end-sleeved filter to evaporate the volatile adsorbed on it), managing to take a portion of volatiles, from the recirculation process of cement processes: adsorption of volatiles in crude oil (produced in the crude mill when the gases...
(22) 30.09.2020
(43) 31.03.2022
(57) Reduction of volatile emission during direct progress in cement clinker manufacturing processes, by removing or purging the volatile contents in gaseous currents (excess of the heat exchange tower that is not needed in the mills crude in the case of existing 2 crude mills) or adsorbed in solid currents (CKD of the heated line end-sleeved filter to evaporate the volatile adsorbed on it), managing to take a portion of volatiles, from the recirculation process of cement processes: adsorption of volatiles in crude oil (produced in the crude mill when the gases loaded by volatiles are mixed intimately with the raw material that is milled) and subsequent volatilization (when the volatiles captured by the ground crude are mixed intimately with hot gases from the oven).
(71) Cogcem Proyectos, S.L. (ES)
