Method for producing hydraulic cement composition using blast furnace slag and converter furnace slag
(22) 27.10.2023
(43) 02.05.2024
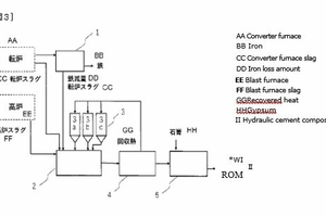
(57) A method for producing a hydraulic cement composition, the method comprising: a step (A) for mixing a blast furnace slag generated in a pig iron production step in a blast furnace process and a converter furnace slag generated in a steel making step, in a state where at least one of the blast furnace slag and the converter furnace slag is molten, to po obtain a molten mixture; a step (B) for rapidly quenching and solidifying the molten mixture obtained in the step (A) to 1,:e produce a. clinker; and a. step (C) for adding, to the clinker obtained in the step...
(22) 27.10.2023
(43) 02.05.2024
(57) A method for producing a hydraulic cement composition, the method comprising: a step (A) for mixing a blast furnace slag generated in a pig iron production step in a blast furnace process and a converter furnace slag generated in a steel making step, in a state where at least one of the blast furnace slag and the converter furnace slag is molten, to po obtain a molten mixture; a step (B) for rapidly quenching and solidifying the molten mixture obtained in the step (A) to 1,:e produce a. clinker; and a. step (C) for adding, to the clinker obtained in the step (B), gypsum and pulverizing the same.
(71) Global Material Research Corporation), Chiba (JP)
