Cement fineness screening device for engineering detection
(22) 01.02.2024
(43) 08.03.2024
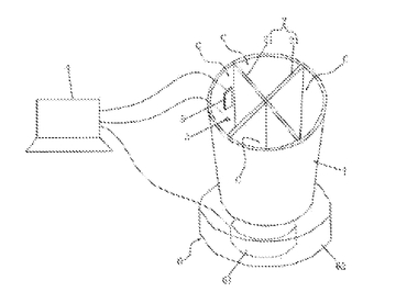
(57) The invention relates to a cement fineness screening device for engineering detection, and relates to the technical field of engineering detection, the cement fineness screening device comprises a screening box, a driving assembly, a screening assembly, a collecting assembly and a weighing assembly, and the screening box communicates with a feeding pipe; the driving assembly is arranged on the screening box and used for driving the screening assembly to conduct vibration screening on cement. The screening assembly is arranged in the screening box and used for...
(22) 01.02.2024
(43) 08.03.2024
(57) The invention relates to a cement fineness screening device for engineering detection, and relates to the technical field of engineering detection, the cement fineness screening device comprises a screening box, a driving assembly, a screening assembly, a collecting assembly and a weighing assembly, and the screening box communicates with a feeding pipe; the driving assembly is arranged on the screening box and used for driving the screening assembly to conduct vibration screening on cement. The screening assembly is arranged in the screening box and used for conducting vibration screening on cement in different directions. The collecting assembly is arranged in the screening box and used for collecting the screened cement. The weighing assembly is arranged in the screening box and used for weighing the screened cement. The cement screening device has the effect of improving the cement screening efficiency.
(71) Shanxi Shengshixing Engineering Tech Inspection Consulting Co. Ltd.
