Device for manufacturing soil cement having improved uniformity
(22) 27.02.2017
(43) 30.08.2018
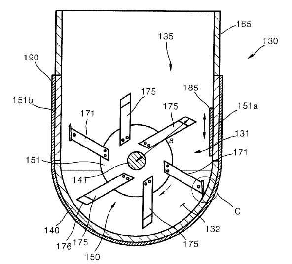
(57) The present invention relates to a device for manufacturing soil cement and, more particularly, to a device for manufacturing soil cement, wherein continuous grinding, mixing, and discharging efficiency are improved and thus uniformity is enhanced. According to the present invention, a device for manufacturing soil cement is provided, the device being characterized by comprising: a preparation tank (130) providing a preparation space therein; and an impeller part (150) provided with a rotary shaft (141) extending along a rotation axis line in the preparation...
(22) 27.02.2017
(43) 30.08.2018
(57) The present invention relates to a device for manufacturing soil cement and, more particularly, to a device for manufacturing soil cement, wherein continuous grinding, mixing, and discharging efficiency are improved and thus uniformity is enhanced. According to the present invention, a device for manufacturing soil cement is provided, the device being characterized by comprising: a preparation tank (130) providing a preparation space therein; and an impeller part (150) provided with a rotary shaft (141) extending along a rotation axis line in the preparation space and a plurality of unit impellers (150a) installed one by one along the rotation axis line in the rotary shaft, wherein: the preparation tank is provided with a semicircular bottom portion (140) that forms an arc with respect to the rotation axis line; each of the unit impellers is provided with multiple blades that are radially arranged; a scraping edge (180) facing (…).
(71) Sin Gi Ati Co., Ltd. (KR)
