Apparatus and method for recovering precious metals, such as platinum, rhodium, gold, silver, etc., from contaminated cement
(22) 06.02.2022
(43) 11.08.2022
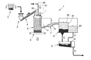
(57) Apparatus and method for recovering precious metals from contaminated cement, comprising, in order of process, a crusher, in which a cement-metal conglomerate is placed, a sieve, a dis-penser, a first container, suitable for collecting the metal on the bottom through the action of a magnetic stirrer, an expander, a second container, a drainage tank, and a sieve. The present invention relates in particular to the recovery of precious metal from the batch of cement contaminated by precious metals, such as platinum, rhodium, gold, or silver. In the production of...
(22) 06.02.2022
(43) 11.08.2022
(57) Apparatus and method for recovering precious metals from contaminated cement, comprising, in order of process, a crusher, in which a cement-metal
conglomerate is placed, a sieve, a dis-penser, a first container, suitable for
collecting the metal on the bottom
through the action of a magnetic stirrer,
an expander, a second container, a drainage tank, and a sieve. The present invention relates in particular to the recovery of precious metal from the
batch of cement contaminated by
precious metals, such as platinum,
rhodium, gold, or silver. In the production of glass fibers for reinforcement, dies made of an alloy of precious
metals, in particular platinum and rhodium, are used. These dies are supported by a special cement structure. During the months of production life of the die, part of the precious metal diffuses into
the cement on account of the high
temperatures. Given the value of the metals, it is economically advantageous to recover them from the supporting
cement at each change of the die.
(71) Mercurio S.M., Milano (IT)
