Method and
apparatus for
treating combustible substance
(22) 06.08.2019
(43) 28.07.2022
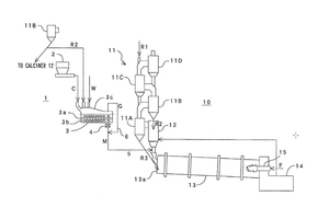
(57) A treatment method and apparatus is provided to effectively use a combustible waste such as waste plastic, waste tires, rice husk, wood shavings, PKS, RDF and sludge while maintaining stable
operation; to improve the combustion
efficiency of a fossil fuel such as coal and coke; and furthermore to reduce the NOx concentration in a cement kiln exhaust gas. An apparatus 1 for treating a combustible, the apparatus comprising:
a mixer 3 for mixing a combustible C with a preheated raw material R2, which has a temperature of 600 °C. or higher and 900 °C. or lower...
(22) 06.08.2019
(43) 28.07.2022
(57) A treatment method and apparatus is provided to effectively use a combustible waste such as waste plastic, waste tires, rice husk, wood shavings, PKS, RDF and sludge while maintaining stable operation; to improve the combustion efficiency of a fossil fuel such as coal and coke; and furthermore to reduce the NOx concentration in a cement kiln exhaust gas. An apparatus 1 for treating a combustible, the apparatus comprising: a mixer 3 for mixing a combustible C with a preheated raw material R2, which has a temperature of 600 °C. or higher and 900 °C. or lower and which is drawn from a preheater cyclone of a cement burning device 10, to gasify the combustible; and a feeder 5 for feeding the gasified combustible and the preheated raw material (mixed raw material M) to a region from an inlet end 13a of the cement burning device to a calciner 12. When the combustible and the preheated raw material are mixed, moisture may be added to cause water gas shift reaction, and the resultant water gas and the preheated raw material may be introduced to the region from the inlet end of the cement burning device to the calciner.
(71) Taiheiyo Engineering Corporation, Tokyo (JP)
