A cement and fly ash recovery device
(22) 30.05.2024
(43) 17.10.2024
(57) The invention discloses a cement and fly ash recovery device, which comprises a water tank, a multi-row spray pipe, a dense mesh screen, a float control water valve, an intake pipe, a water pump, an outlet pipe, a storage tank discharge pipe, a valve and a water softening pipe. A pipe is drawn from the top of the cement and fly ash storage tank and inserted into the bottom of the recovery device tank. Water is injected into the tank. When the cement and fly ash transport tank truck is transported to the storage tank, the dust floating with the air enters the...
(22) 30.05.2024
(43) 17.10.2024
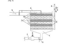
(57) The invention discloses a cement and fly ash recovery device, which comprises a water tank, a multi-row spray pipe, a dense mesh screen, a float control water valve, an intake pipe, a water pump, an outlet pipe, a storage tank discharge pipe, a valve and a water softening pipe. A pipe is drawn from the top of the cement and fly ash storage tank and inserted into the bottom of the recovery device tank. Water is injected into the tank. When the cement and fly ash transport tank truck is transported to the storage tank, the dust floating with the air enters the bottom of the recovery device through the pipe and forms bubbles in the water. Finally, the dust is integrated into the water of the recovery device, and the water with dust is output by the pump through the water outlet. The invention can effectively collect the dust floating with the air in the storage tank and avoid the pollution of the air environment. The invention has the advantages of simple structure, easy processing, reliable performance, convenient operation and low cost.
(71) Overseas Engineering Company of China Railway No.5 Engineering Group Co., LTD (CN), Guizhou (CN).
