Dear Readers, ... You can’t really say Happy New Year without a certain amount of light-heartedness ... At the beginning of 2020, it was all much easier. There is no shortage of forecasts and ...
LafargeHolcim announced its CHF 100 million investment in India in waste heat recovery systems to accelerate its net zero journey. This investment across six sites will be completed in the next two...
The full flowsheet at 17 Titan Cement Group plants is covered in a new two and half year service agreement with FLSmidth. Sustainability, digitalisation and productivity headlines the agreement with...
Mondi, a leading global packaging and paper manufacturer, has opened its new state-of-the-art paper bags plant in Cartagena/Colombia in January 2021. It is Mondi’s first operation in South America,...
Some of the leading cement producers in West Africa are companies which belong to the globally operating LafargeHolcim Group. Aumund S.A.R.L. in Paris/France is the responsible Aumund Group entity for...
Chinese general contractor Sinoma International Engineering and its affiliated CBMI Construction are building a new cement plant for Les Ciments du Sahel in Senegal, which will be almost completely...
The World Cement Association announced the appointment of two new Directors: Roland van Wijnen, CEO of Africa’s PPC Ltd., and Mahendra Singhi Managing Director & CEO of India’s Dalmia Cement. The...
Marking a successful beginning of FY 2020-21, thyssenkrupp Industries India has won a contract valued at approximately € 22 million from Shiva Cement for its new project in Odisha. The contract...
Alpacem, a market leader for cement and concrete in the Alpe-Adria region, secures one of the most important infrastructure projects in the region with the Karawanks Tunnel. Alpacem cements and...
CRH plc has announced the appointment to the Board of Richard Fearon and Lamar McKay as non-executive Directors, with effect from 3 December 2020.Richard Fearon (64), a US citizen, is currently the...
Mario Paterlini, an independent, non-executive director of Buzzi Unicem, has been awarded by Forbes Italia as the best CEO in the Culture Innovation category. The award was presented during the third...
St. Marys Cement Inc. (Canada), a wholly-owned subsidiary of Votorantim Cimentos, and McInnis Cement Inc. will combine their assets to create a combined entity to manufacture, distribute and sell...
To reduce the moisture content of the alternative fuel (RDF) for the kiln burner, Lafarge Zementwerke GmbH Mannersdorf awarded A TEC a contract for the implementation of its innovative Flash Dryer ....
In the face of global climate change it will be imperative to drastically reduce greenhouse gas emissions throughout the world over the next few decades. This also applies to the cement industry. “We ...
The economic effects of the Covid 19 pandemic are still felt worldwide, but it is important to look ahead, especially in times of crisis. This is also the philosophy of Shree Cement, one of the three ...
Secil Group, a major Portuguese cement producer and provider of construction materials, has entrusted thyssen-krupp Industrial Solutions S.A.S. (France) with the modernization project of its Outão ...
Covid-19 has introduced a number of hardships on bulk material handlers, including limiting their options for critical training to improve conveyor safety and productivity.With in-person visits...
The cement industry faces a number of challenges. One major challenge is the impact of the Covid-19 pandemic, which led to a decline in demand for cement and all other business lines such as...
Maerz Ofenbau AG built a new PFR lime kiln with a direct cross-over channel for the production of quicklime with a very low residual CO2 content and very high reactivity in Kalkfabrik...
During the clinker burning process in the cement production NOx can be formed. To prevent the formation of nitric acid or acid rain in nature the NOx in the exhaust gases must be reduced by the...
In this paper, a system integration updated technology for a large-scale raw material vertical roller mill is introduced, which was developed originally by the Tianjin Cement Industry Institute (the...
One of the most critical and important performance-based evaluations of any cement type is its strength development characteristic. Cement strength is maintained, controlled and optimized on the basis...
The aim of the present work is to provide the conditions for the activation of natural anhydrite in order to use it as a binder suitable for applications in the building industry. This natural...
(22) 29.04.2019(43) 04.11.2020(57) The use of calcium aluminate cement in autoclaved cement products, cementitious compositions suitable for forming the autoclaved cement products, and methods for...
(22) 17.05.2019(43) 18.11.2020(57) Method for calcining limestone or raw meal containing limestone for manufacturing cement clinker, wherein microwave energy is used for calcination, device for...
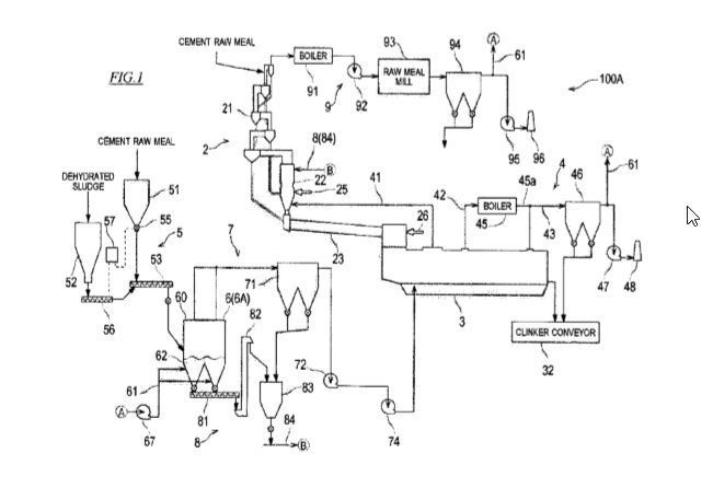
(22) 27.08.2018(43) 25.11.2020(57) A sludge treatment method includes: preparing a mixture by mixing dehydrated sludge and cement raw meal; drying the mixture by a dryer that brings the mixture into...
(22) 05.06.2019(43) 09.12.2020(57) Die Erfindung betrifft eine Vorrichtung zur Abscheidung von Quecksilber und/oder Quecksilberverbindungen aus bei der Zementklinkerherstellung im Abgas anfallendem...
(22) 14.03.2019(45) 27.10.2020(57) Field: production of construction materials. Substance: invention relates to production of dry construction mixtures by combined mechanoactivation of cement and...
(22) 23.04.2020(43) 29.10.2020(57) Provided are a lime kiln and heat supply method thereof, said lime kiln containing a kiln chamber (1), a heating device, and a combustion-supporting fan (2); the...
(22) 21.02.2020(45) 18.11.2020(57) Field: chemistry. Substance: disclosed group of inventions relates to a method of producing belite clinker and a composition of belite clinker. Method involves...
(22) 21.02.2020(45) 18.11.2020(57) Field: chemistry. Substance: disclosed group of inventions relates to a method of producing slow-setting cement and cement produced on its basis. Method involves...
(22) 17.05.2019(43) 02.12.2020(57) The heating complex of a cement kiln/lime kiln and high heat plant consists of a separate pyrolysis reactor (A) with a raw material inlet (C) of...
(22) 06.07.2020(43) 22.10.2020(57) Mineral fines are used to reduce clinker content in concrete, mortar and other cementitious compositions, typically in combination with one or more pozzolanically...
(22) 26.06.2017(43) 12.11.2020(57) A method for producing a cementing material from the waste from the brick and ceramics industry is provided, the method being selecting the batches of waste from...
(22) 15.04.2020(43) 22.10.2020(57) Proppant compositions for hydraulic fracturing that include Portland cement clinker are provided. A cement clinker proppant composition for hydraulic fracturing may...
(22) 11.10.2019(43) 12.11.2020(57) Hemp straw is ground and burnt to result in hemp straw ash for making concrete. The hemp straw ash is mixed with water, cement, fine aggregate, coarse aggregate and...
(22) 29.05.2020(43) 03.12.2020(57) Vortex detector (112) for a cyclonic separator (100), comprising a plurality of rings (118) stacked one on another and secured to one another; each ring (118)...
Change determines the general conditions. Due to the constant change in supply chain management, decision-makers need to constantly question their own situation – and find out which path to take.
A geologist friend of mine recently told me his favourite joke: “Two planets meet out there in space. Says the first: “You know, I am not feeling well lately – I discovered I have got homo sapiens!” ...
The construction industry is constantly facing new challenges: The advancing and necessary digitalization in the construction sector, an increasing scarcity of resources, the increased demands on ...