It isn’t quite clear yet what the economic repercussions of the Corona crisis will be, but a global recession has been forecast. Governments are planning recovery packages worth billions to prop ...
ABB will supply RCCPL with ABB Ability™ Expert Optimizer, an advanced process control solution for controlling, stabilizing, and optimizing industrial processes and which will allow the cement...
Progressive Planet Solutions Inc., a developer of natural pozzolan properties in BC, Canada, is pleased to announce that its project to modify the rheology of zeolite from the Z-1 Zeolite Quarry has...
Building materials from Heidelberg-Cement are important components for sustainable construction. To further accelerate developments in this area, HeidelbergCement has joined the Europe Regional...
LafargeHolcim ramps up its partnership with Solidia Technologies to reduce CO2 across its value chain. With this announcement the collaboration with the US-based cement and concrete technology...
At the beginning of 2020 Loesche received a follow-up order from Thanh Thang Group Cement JSC in Vietnam to supply two vertical roller mills. The two mills are destined for a new cement line at the...
Aker Solutions’ technology for a full-scale demonstration project in Norway to remove carbon emissions at a cement plant has been approved as qualified by DNV GL, the technical advisor to the oil and...
Bigboss Cement Inc. (BBCI), with a plant located in the province of Pampanga, Philippines has recognized the advantages of this modular plant concept, comprising a 4-roller vertical roller mill, and...
After concluding several successful projects in recent years, including an automation upgrade and retrofit of the burner system in 2018 and a service agreement in 2019, Yanbu Cement Company (YCC)...
Sustainability plays a key role in the cement industry. In the past years, RHI Magnesita’s cement business unit has worked on ambitious sustainability initiatives and put great efforts into enabling ...
HeidelbergCement’s Norwegian subsidiary Norcem and the engineering company Aker Solutions has signed an agreement for the supply of a CO2 capture, liquification and intermediate storage facility at ...
For Siam City Cement Public Co., Ltd. (SCCC) from Thailand, KHD Humboldt Wedag engineered and commissioned a new roller press-based raw meal grinding plant at SCCC’s factory 1 located in the Saraburi...
Since the beginning of June, Bertram Ziegenfuß (41) has been the new owner‘s representative and complements the supervisory board of the Carinthian Wietersdorfer Holding. He will use his international...
Joseph Dzierzawski has been named President and CEO of Beumer Corporation, the US subsidiary of Beumer Group in Somerset, New Jersey, effective April 27, 2020. He will be fully responsible for the...
On April 1, 2020, Professor Thomas Matschei was officially appointed Chair of Building Materials at the Institute of Building Materials Research, ibac for short, at RWTH Aachen University. Between...
In the light of the global impacts of the Covid-19 crisis and following close consultation with exhibitors and visitors, Powtech has set the stage for the leading event for the powder, bulk solids and...
A new shredder to transform waste into alternative fuels had been ordered and delivered, the facility’s retrofitting was in full swing – and then came the coronavirus lockdown. That was the problem...
The cement, steel and power industries are all energy-intensive, and still predominantly use fossil fuels in their processes releasing carbon dioxide which is damaging to the environment. At the same...
Martin Engineering has introduced a design specifically for applications where space for installation is limited. The SQC2S RM (Reduced Mini) is a compact secondary belt cleaner that allows...
The Flexco EZP1T is an advanced version of its proven EZP1 precleaner. The models in this series incorporate a torsion spring instead of a tension spring, which means they take up less space than the...
In 2025, according to UN figures, more than 8.1 billion people will live on the earth and produce around six million tons of waste a day. In the future, resources must be used more efficiently and ...
In the Smartlink 2.0 release, Atlas Copco is making new functions available for all users of its remote monitoring system for compressed air equipment. The design of the graphic user interface is now...
Companies active in mining and cement need electricity – lots of it. But sometimes the electricity that powers conveyor systems, drives, lighting, control rooms and more is in short supply. One common...
With its digital marketplace, the start-up Sparrow Networks ensures that the participants are supplied with the appropriate spare part as quickly as possible in the event a component in their systems ...
Guernsey – a popular holiday destination in the middle of the English Channel that somehow belongs to but is simultaneously separate from the United Kingdom and once inspired Victor Hugo. To preserve...
The CSI “Technology Roadmap: Low-Carbon Transition in the Cement Industry” primarily considers the use of alternative fuels to reduce fuel cost at the same time as reducing CO2 emissions. However,...
More and more, cement plants in India are now using alternative fuels and raw materials. The government is promoting this development: Through the central and state environmental protection...
The paper describes the impact of Covid-19 on the alternative fuel industry and consequently the cement industry using alternative fuels. Supply chain problems, falling fossil fuel prices and ...
The aim of fire protection is, first and foremost, to prevent a fire from starting. Better yet is detecting fire hazards early before a fire breaks out, and fighting potential sources of fire quickly...
The production of Solid Recovered Fuels (SRF) often involves many different mixing tasks. Two main mixing systems are available here. This article compares the properties of both systems and provides...
As Covid-19 has changed the way people interact with each other and the way business is done, it has also affected the market for alternative fuels. Now is the time to change paradigm regarding...
In a research project, 26 different brick powders made from ground bricks of different ages and different product ranges were tested with regard to their suitability for use as pozzolanic components...
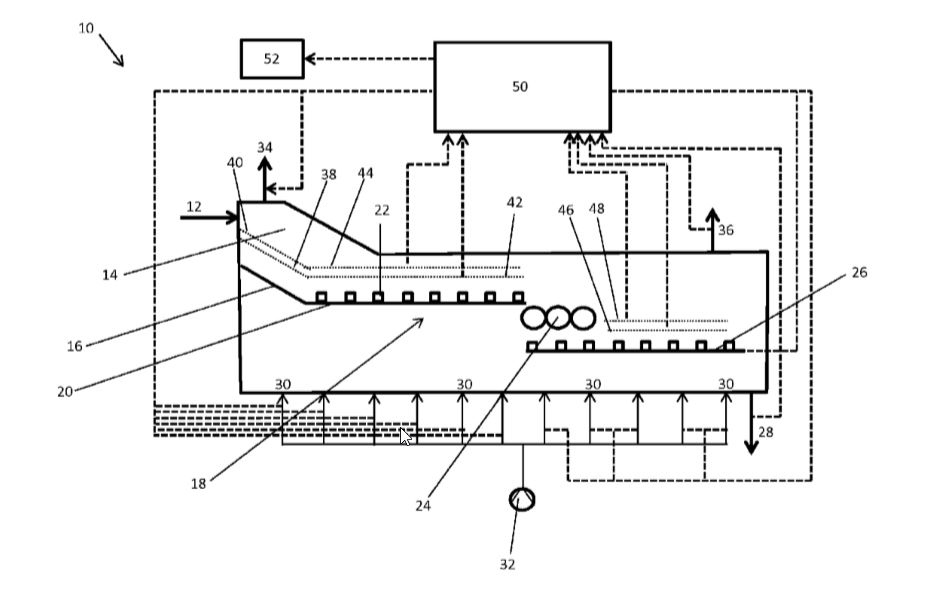
(22) 06.09.2019(43) 19.03.2020(57) The present invention relates to a method for operating a cooler (10) for cooling clinker, in particular of a cement making plant, comprising the steps of conveying...
(22) 06.09.2019(43) 02.04.2020(57) Provided is a burner apparatus for a cement kiln, which strongly forms a floating state of combustible solid waste in the cement kiln, and easily ignites the...
(22) 25.02.2020(45) 02.04.2020(57) The present invention provides an all-solid waste filler for stabilizing dioxin-containing incineration fly ash and a method for preparing the same, and belongs to...
(22) 06.09.2019(43) 19.03.2020(57) The invention relates to a cooler (10) for cooling bulk material, in particular cement clinker, comprising: a stationary ventilation bottom (12) for holding the bulk...
(22) 21.05.2019(43) 19.03.2020(57) A cement clinker preparation method, comprising applying a voltage to a blank to fire the blank to obtain cement clinker under the condition of 900-1200 °C, wherein...
(22) 21.09.2018(43) 31.03.2020(57) The present invention is a first step of cooling the exhaust gas containing carbon dioxide discharged from the cement kiln and sending it to an absorption tower...
(22) 19.09.2017(43) 27.03.2020(57) Disclosed is a cement composition that retains properties as a mixing material such as improving fluidity and contributing to a strength development, said cement...
(22) 06.04.2018(43) 19.03.2020(57) The present invention is related to a process for manufacturing a sorbent suitable for a use in a circulating dry scrubber device comprising the steps of: providing...
(22) 28.05.2018(43) 09.04.2020(57) The present invention pertains to a method for manufacturing cement, wherein the gypsum is first calcined separately before being inter-grinded with the clinker so...
(22) 17.05.2019(43) 04.05.2020(57) The heating complex of the cement kiln or lime kiln or high heat consuming devices consists of a separate pyrolysis reactor (A) with a raw material input (C) of...
When I started as a pyro-process engineer in the cement industry 26 years ago, the number of projects dealing with technologies for increased firing of alternative fuels (AF) was still rather small. ...