Tunable control of pozzolan-lime cement compositions
(22) 28.02.2014
(43) 05.01.2017
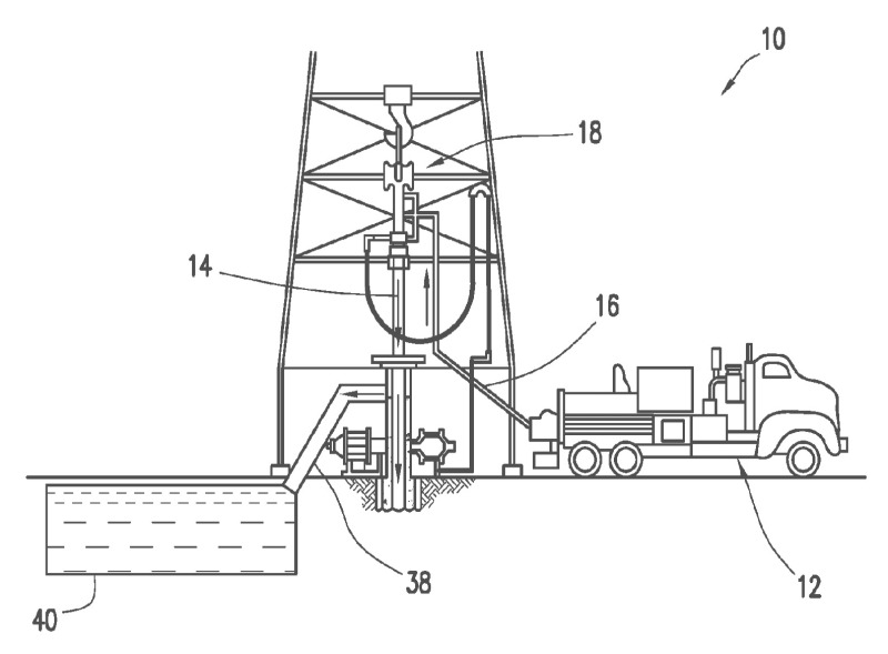
(57) Disclosed herein are cement compositions and methods of using cement compositions in subterranean formations. An embodiment discloses a method of formulating a cement composition. The method may comprise measuring surface area of a group of pozzolans, wherein the smallest measured surface area of the group of pozzolans and the largest measured surface area of the group of pozzolans vary by about 50 % or greater. The method may further comprise selecting one or more pozzolans from the group of pozzolans. The method may further comprise adding components...
(22) 28.02.2014
(43) 05.01.2017
(57) Disclosed herein are cement compositions and methods of using cement compositions in subterranean formations. An embodiment discloses a method of formulating a cement composition. The method may comprise measuring surface area of a group of pozzolans, wherein the smallest measured surface area of the group of pozzolans and the largest measured surface area of the group of pozzolans vary by about 50 % or greater. The method may further comprise selecting one or more pozzolans from the group of pozzolans. The method may further comprise adding components comprising lime and water to the selected one or more pozzolans to form a cement composition.
(71) Halliburton Energy Services, Inc., Houston, TX (US)
