System for producing cement clinker with a separated
entrained-flow calcinator
(22) 23.03.2017
(43) 30.01.2019
(57) Summary of the corresponding patent DE102016003751 (A1): Die Erfindung betrifft eine Anlage (100, 200) zur Herstellung von Zementklinker, aufweisend mindestens einen Drehrohrofen (113) zum Sintern des Zementklinkers aus vorcalciniertem Rohmehl (101), mindestens ein, dem Drehrohrofen (113) in Gasflussrichtung nachgeschalteten Wärmetauscher (112) zur Rekuperation von Prozesswärme aus dem mindestens einen Drehrohrofen (113), mindestens einem Mitstrom-Durchflusscalcinator (102) zum Vorcalcinieren (Entsäuern) von Rohmehl (101), mindestens einem, dem Drehrohrofen...
(22) 23.03.2017
(43) 30.01.2019
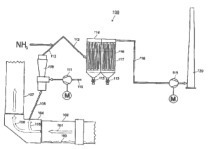
(57) Summary of the corresponding patent DE102016003751 (A1): Die Erfindung betrifft eine Anlage (100, 200) zur Herstellung von Zementklinker, aufweisend mindestens einen Drehrohrofen (113) zum Sintern des Zementklinkers aus vorcalciniertem Rohmehl (101), mindestens ein, dem Drehrohrofen (113) in Gasflussrichtung nachgeschalteten Wärmetauscher (112) zur Rekuperation von Prozesswärme aus dem mindestens einen Drehrohrofen (113), mindestens einem Mitstrom-Durchflusscalcinator (102) zum Vorcalcinieren (Entsäuern) von Rohmehl (101), mindestens einem, dem Drehrohrofen (113) in Materialflussrichtung nachgeschalteten Klinkerkühler (105) zum Kühlen des gesinterten Zementklinkers, wobei eine Leitung zum Führen von Kühlerabluft (104) zur Rekuperation von Wärme in die Anlage (100, 200) vorgesehen ist. Erfindungsgemäß ist vorgesehen, dass der Mitstrom-Durchflusscalcinator (102) in Materialflussrichtung vor dem Wärmetauscher (112) angeordnet ist. Durch diese Anordnung lässt sich die Anlage mit einem hohen Wärmeüberschuss betrieben, der zur Erzeugung von elektrischer Energie ausgekoppelt werden kann.
(71) KHD Humboldt Wedag GmbH (DE)
