Method of obtaining lime
(22) 06.04.2018
(45) 21.01.2019
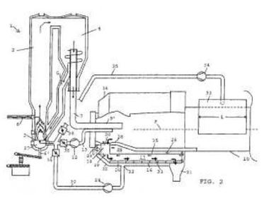
(57) Field: construction. Substance: invention relates to the construction industry and can be used in the production of lime by burning limestone in special kilns. Prepared and selected limestone from the bunker is fed to the chute of the vibrating conveyor, located horizontally inside the lined kiln, and is subjected to roasting. Limestone is moved in the burning zone at a speed of 400-800 mm/min. In the process of moving vibrating conveyor give oscillatory motion with an amplitude of 2-4 mm and a vibration frequency of 1000-1500 1/min. Heating and burning of...
(22) 06.04.2018
(45) 21.01.2019
(57) Field: construction. Substance: invention relates to the construction industry and can be used in the production of lime by burning limestone in special kilns. Prepared and selected limestone from the bunker is fed to the chute of the vibrating conveyor, located horizontally inside the lined kiln, and is subjected to roasting. Limestone is moved in the burning zone at a speed of 400-800 mm/min. In the process of moving vibrating conveyor give oscillatory motion with an amplitude of 2-4 mm and a vibration frequency of 1000-1500 1/min. Heating and burning of limestone is carried out by a combined coolant: a catalytic heat generator and an infrared radiation source. Modes of movement of limestone are regulated depending on the size of the pieces of limestone. Gases released during the firing process are removed through the windows made in the lined kiln. Finished lime after firing is collected in a hopper. Effect: regulation of limestone burning processes and the use of an efficient source of thermal energy make it possible to produce high-quality lime using simple and economical methods using small-sized equipment.
(73) Federalnoe gosudarstvennoe byudzhetnoe obrazovatelnoe uchrezhdenie vysshego obrazovaniya “Tomskij gosudarstvennyj arkhitekturno-stroitelnyj universitet” (TGASU) (RU)
