Method for fragmenting waste
(22) 19.04.2021
(43) 03.02.2022
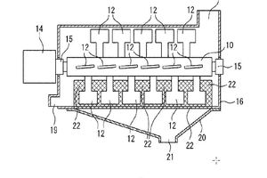
(57) The present invention fragments waste gypsum using two mills. Each of the mills has a feeding slot at one end thereof and a discharge slot at the other end, and causes a rotary shaft equipped with a hammer to rotate in a casing. A first-stage mill is configured to have a mesh with an opening size of 12-30 mm, while a second-stage mill is configured to have a mesh with an opening size of 3-12 mm. The present invention involves feeding waste gypsum into the first-stage mill, and feeding the waste gypsum having passed through the mesh of the first-stage mill...
(22) 19.04.2021
(43) 03.02.2022
(57) The present invention fragments waste gypsum using two mills. Each of the mills has a feeding slot at one end thereof and a discharge slot at the other end, and causes a rotary shaft equipped with a hammer to rotate in a casing. A first-stage mill is configured to have a mesh with an opening size of 12-30 mm, while a second-stage mill is configured to have a mesh with an opening size of 3-12 mm. The present invention involves feeding waste gypsum into the first-stage mill, and feeding the waste gypsum having passed through the mesh of the first-stage mill into the second-stage mill, to (…).
(71) Tokuyama Corporation, Yamaguchi (JP)
