Grate plate for a grate cooler
(22) 02.06.2015
(43) 10.12.2015
(57) The invention relates to a grate plate (1) for use in a bulk material cooler for hot bulk material (3), such as for example hot cement clinker, having a working region with at least one packet (2) for holding bulk material (3) as an autogenic wear protection layer, at least one opening (4) which leads to the underside (5) of the grate plate (1) for supplying cooling air (6), wherein the working region has, when used in a grate cooler, a region which is alternately covered by a further grate plate (1). The invention provides that the area alternately covered...
(22) 02.06.2015
(43) 10.12.2015
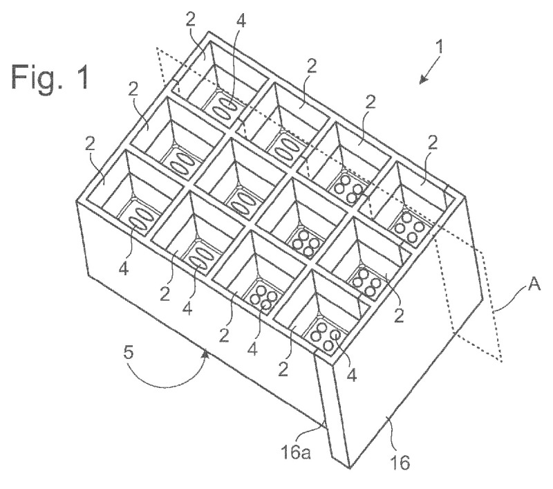
(57) The invention relates to a grate plate (1) for use in a bulk material cooler for hot bulk material (3), such as for example hot cement clinker, having a working region with at least one packet (2) for holding bulk material (3) as an autogenic wear protection layer, at least one opening (4) which leads to the underside (5) of the grate plate (1) for supplying cooling air (6), wherein the working region has, when used in a grate cooler, a region which is alternately covered by a further grate plate (1). The invention provides that the area alternately covered by a further grate plate (1) is also covered for the most part by the at least one packet (2) for holding bulk material (3) as an autogenic wear protection layer, and that the at least one opening (4) which leads to the underside (5) of the grate plate (1) for supplying cooling air (6) has a clear opening which has a diameter of at least 7 mm or more. By this means, the grate plate has a low air resistance and the air resistance varies less during use.
(71) KHD Humboldt Wedag GmbH, Colonia-Allee 3, 51067 Köln (DE)
(84) ARIPO (BW, GH, GM, KE, LR, LS, MW, MZ, NA, RW, SD, SL, ST, SZ, TZ, UG, ZM, ZW), Eurasian (AM, AZ, BY, KG, KZ, RU, TJ, TM), European (AL, AT, BE, BG, CH, CY, CZ, DE, DK, EE, ES, FI, FR, GB, GR, HR, HU, IE, IS, IT, LT, LU, LV, MC, MK, MT, NL, NO, PL, PT, RO, RS, SE, SI, SK, SM, TR), OAPI (BF, BJ, CF, CG, CI, CM, GA, GN, GQ, GW, KM, ML, MR, NE, SN, TD, TG)
