EP 2 562 504 B1

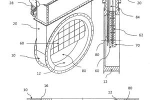
Clinker kiln with slider for tertiary air duct

(22) 21.08.2012

(43) 27.02.2013

(45) 18.03.2015

(73) IKN GmbH, 31535 Neustadt (DE)

(22) 21.08.2012

(43) 27.02.2013

(45) 18.03.2015

(73) IKN GmbH, 31535 Neustadt (DE)

x

Related articles:

Issue 5/2015 EP 2 559 961 B1

Grate cooler for a cement clinker kiln

(22) 16.08.2012 (43) 20.02.2013 (45) 18.03.2015 (73) IKN GmbH, 31535 Neustadt (DE) (84) AL AT BE BG CH CY CZ DE DK EE ES FI FR GB GR HR HU IE IS IT LI LT LU LV MC MK MT NL NO PL PT RO RS SE SI SK SM TR

more
Issue 7-8/2014 ARGENTINA

New IKN cooler for Argentina

In May 2014, Holcim (Argentina) S.A. placed an order for a state-of-the-art IKN Pendulum Cooler® with a grate area of 61 m2 and the latest Coanda Wing® technology, designed to replace the existing...

more
Issue 7-8/2018 IKN GMBH

New kiln line at Burglengenfeld plant, Germany started production

After two years of intense work, the first clinker was received on schedule at HeidelbergCement’s Burglengenfeld cement works in Germany in April 2018. IKN was awarded a contract for engineering,...

more
IKN GMBH

New kiln line at Burglengenfeld plant, Germany started production

After two years of intense work, the first clinker was received on schedule at HeidelbergCement’s Burglengenfeld cement works in Germany in April 2018. IKN was awarded a contract for engineering,...

more
Issue 1-2/2016 IKN GMBH

IKN wins contract for a pyro line in Germany

In August 2015, IKN was awarded the contract for the engineering, supply and installation of a complete 4000 t/d pyro line – from raw meal feeding to clinker discharge – at Burglengenfeld/Germany....

more